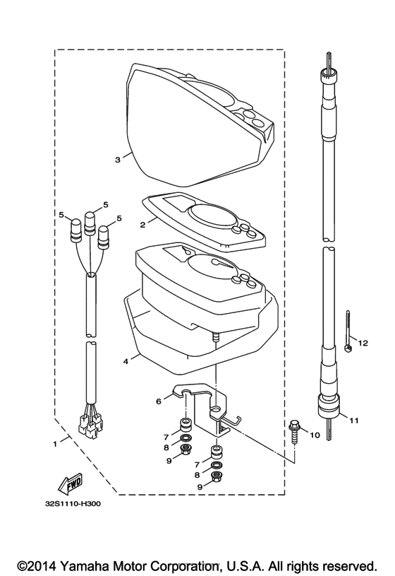
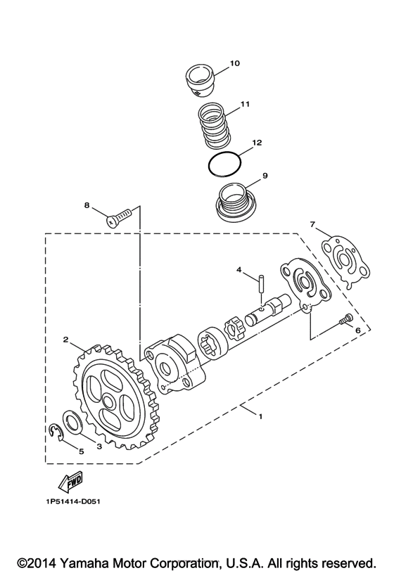
Запчасти для мотоциклов Yamaha YW125 Zuma

Год: 2015  •  Объем двигателя: 125

Запчасти для мотоциклов Yamaha YW125 Zuma
Вид: