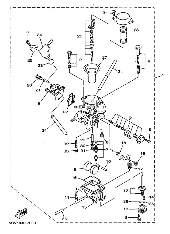
Запчасти для мотоциклов Yamaha YP250D Majesty DX

Год: 1999  •  Код модели: 5DF5  •  Объем двигателя: 250

Запчасти для мотоциклов Yamaha YP250D Majesty DX
Вид: