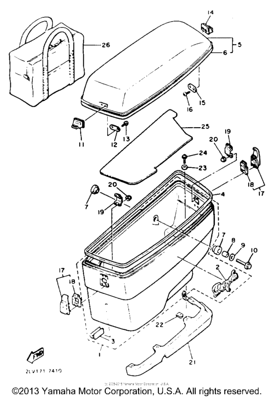
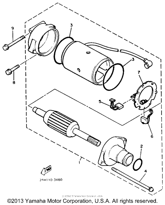
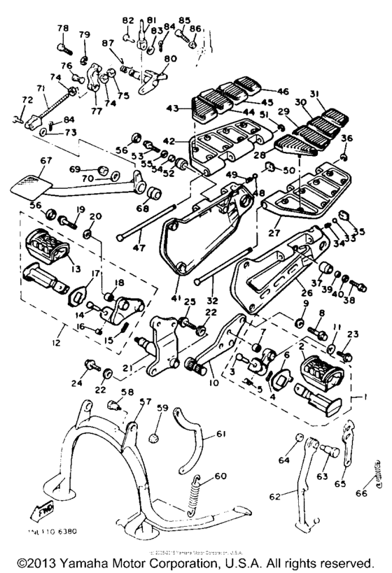
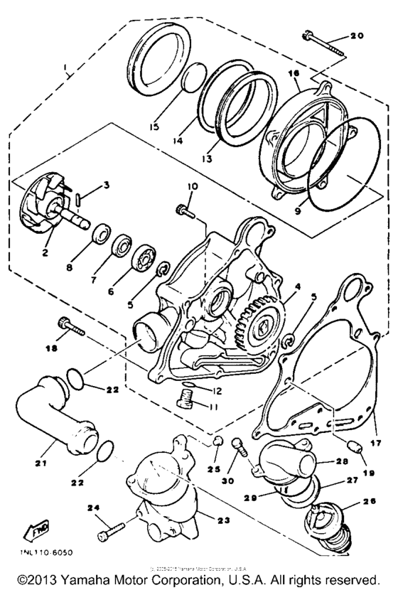
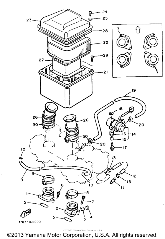
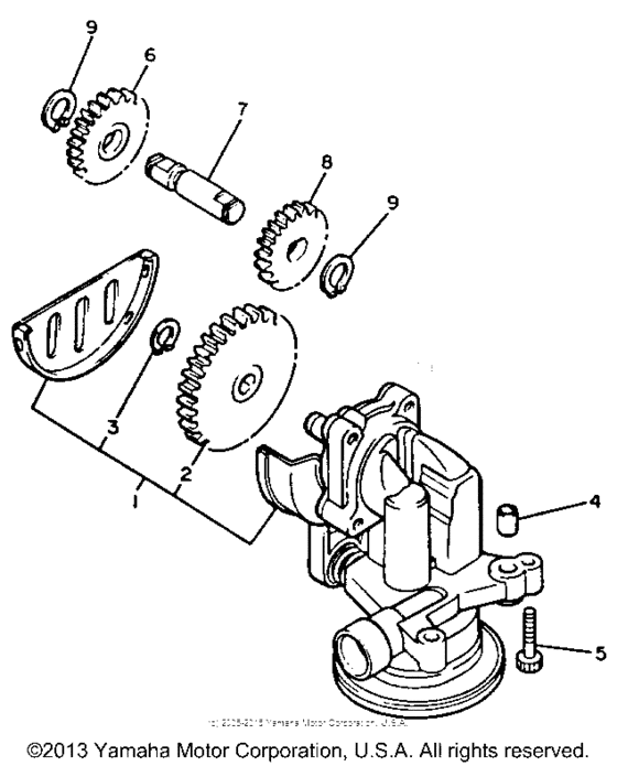
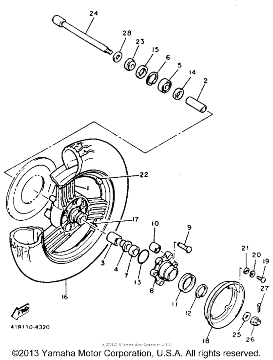
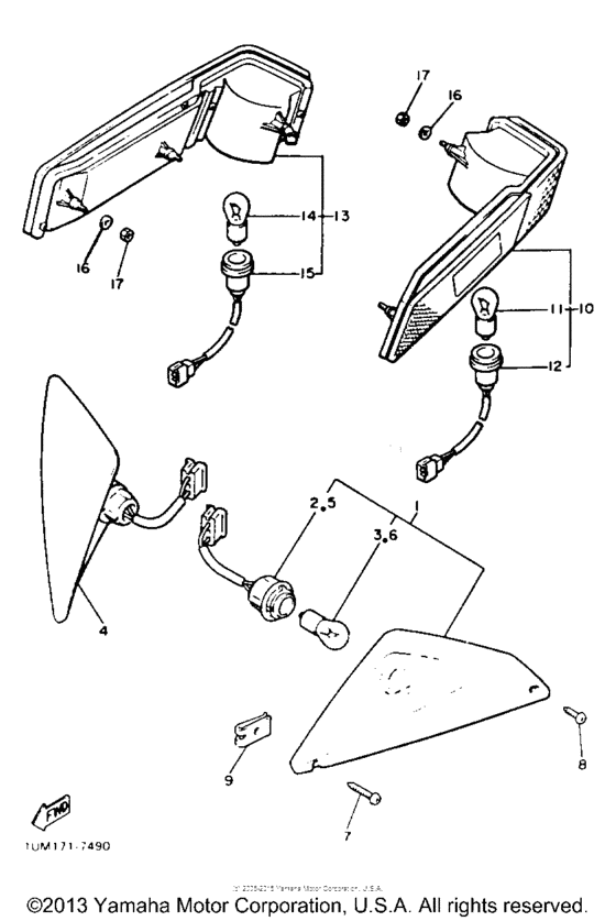
Запчасти для мотоциклов Yamaha XVZ13TC Venture

Год: 1987  •  Объем двигателя: 1300

Запчасти для мотоциклов Yamaha XVZ13TC Venture
Вид: