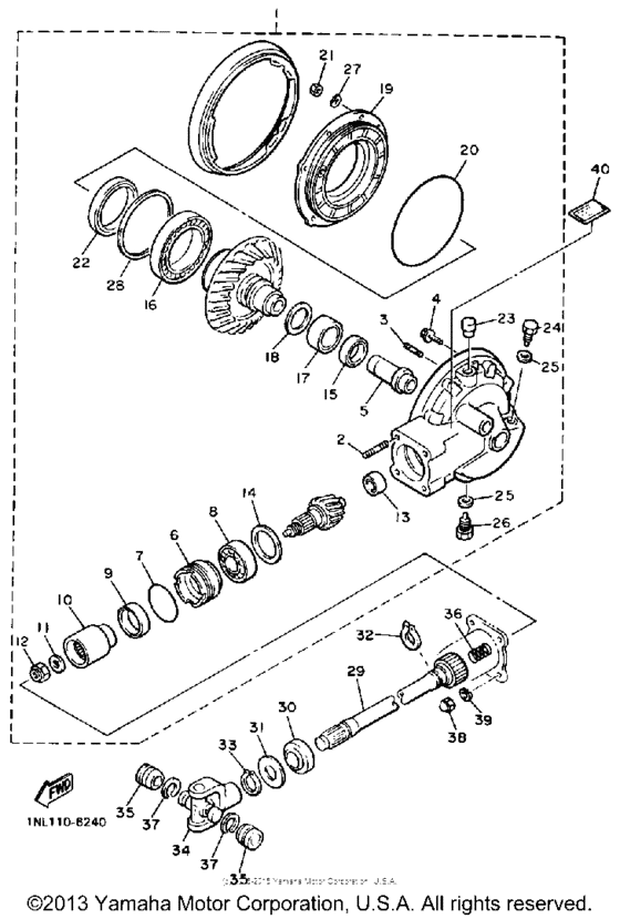
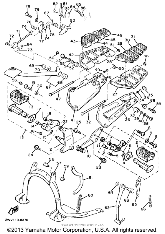
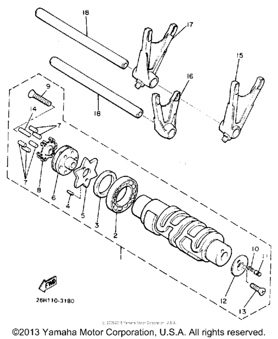
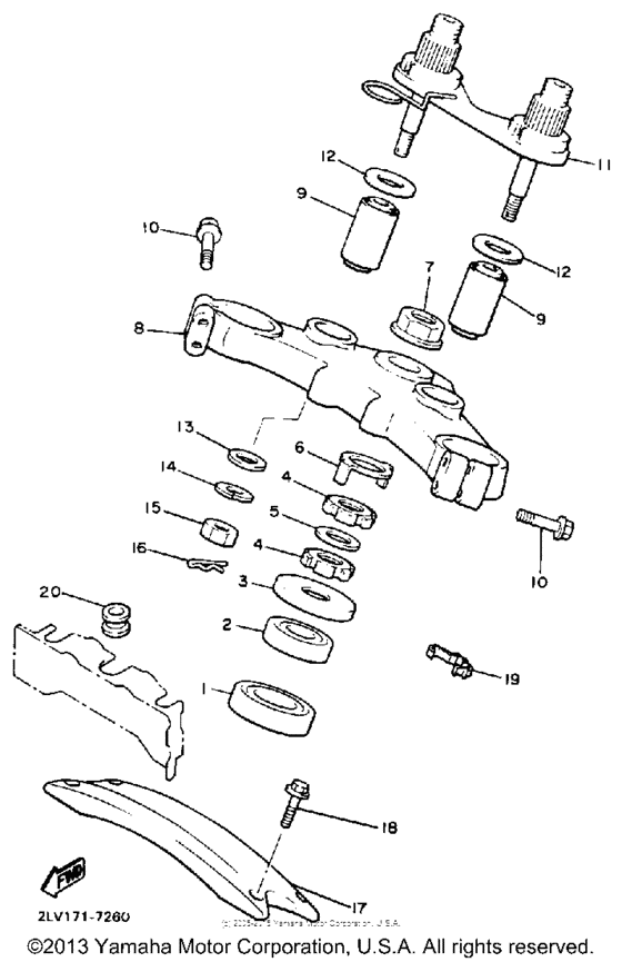
Запчасти для мотоциклов Yamaha XVZ13U Venture

Год: 1988  •  Код модели: 2WV  •  Объем двигателя: 1300

Запчасти для мотоциклов Yamaha XVZ13U Venture
Вид: