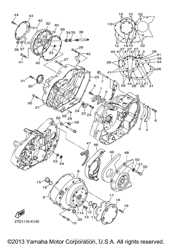
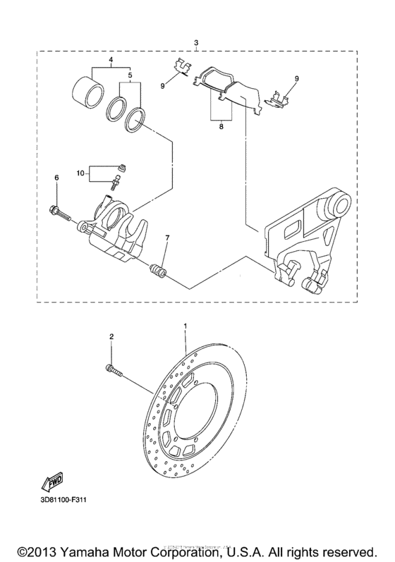
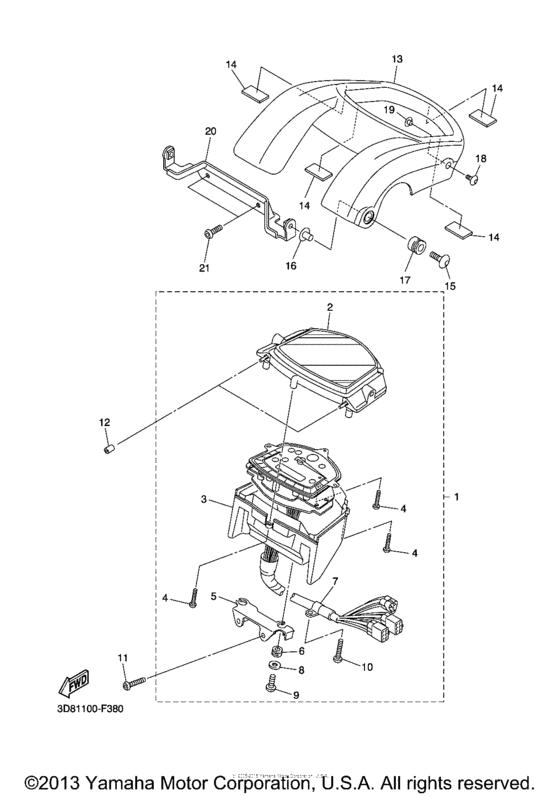
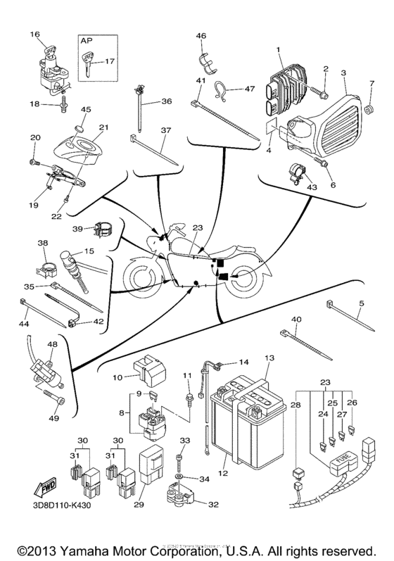
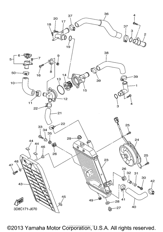
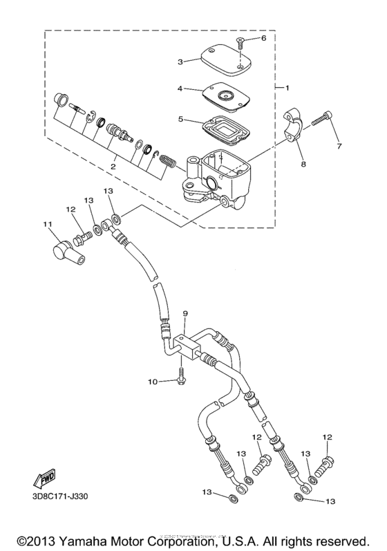
Запчасти для мотоциклов Yamaha XVS1300A V-Star

Год: 2012  •  Код модели: 3D8G  •  Объем двигателя: 1300

Запчасти для мотоциклов Yamaha XVS1300A V-Star
Вид: