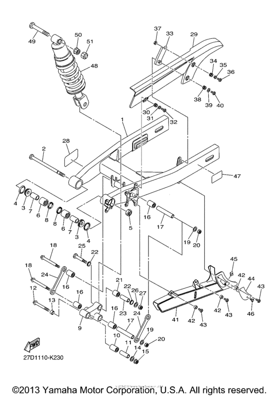
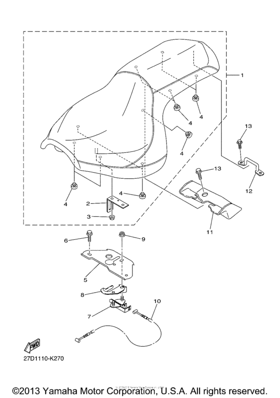
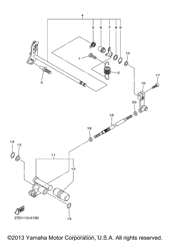
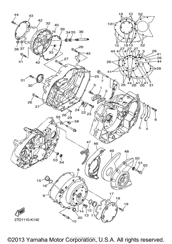
Запчасти для мотоциклов Yamaha XVS1300CU Stryker

Год: 2013  •  Объем двигателя: 1300

Запчасти для мотоциклов Yamaha XVS1300CU Stryker
Вид: