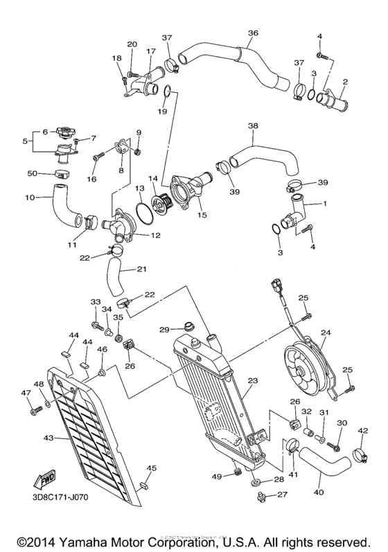
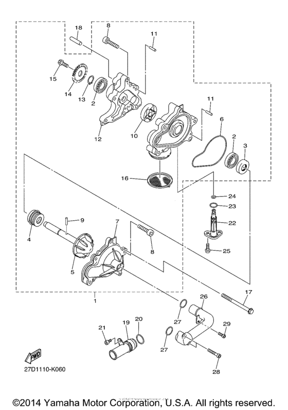
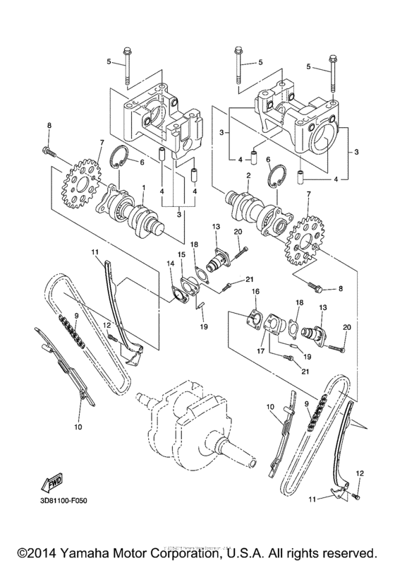
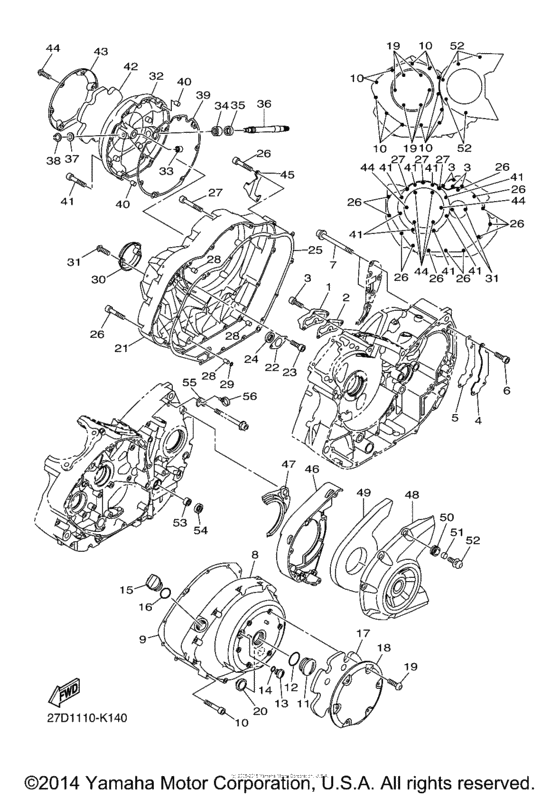
Запчасти для мотоциклов Yamaha XVS1300CTF V-Star Deluxe

Год: 2014  •  Код модели: 2CA5  •  Объем двигателя: 1300

Запчасти для мотоциклов Yamaha XVS1300CTF V-Star Deluxe
Вид: