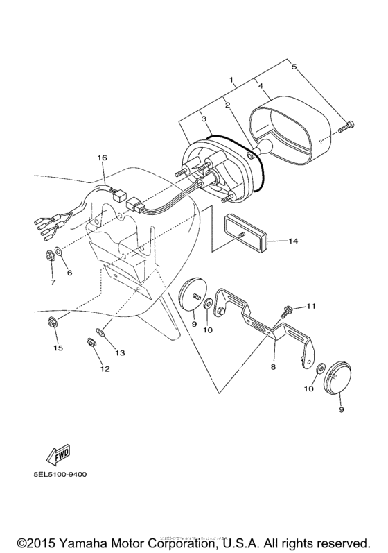
Запчасти для мотоциклов Yamaha XVS1100MC V-Star Custom

Год: 2000  •  Код модели: 5ELA  •  Объем двигателя: 1100

Запчасти для мотоциклов Yamaha XVS1100MC V-Star Custom
Вид: