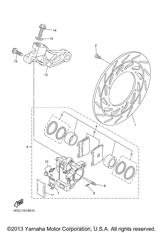
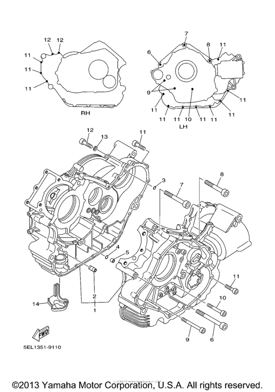
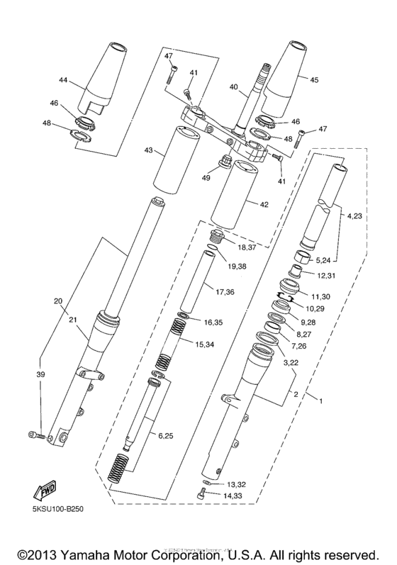
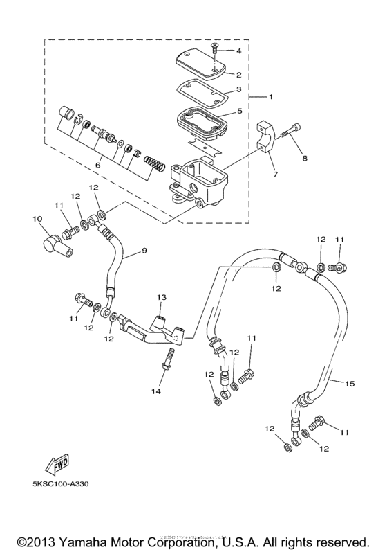
Запчасти для мотоциклов Yamaha XVS11ASC V-Star Classic

Год: 2004  •  Код модели: 5YS1  •  Объем двигателя: 1100

Запчасти для мотоциклов Yamaha XVS11ASC V-Star Classic
Вид: