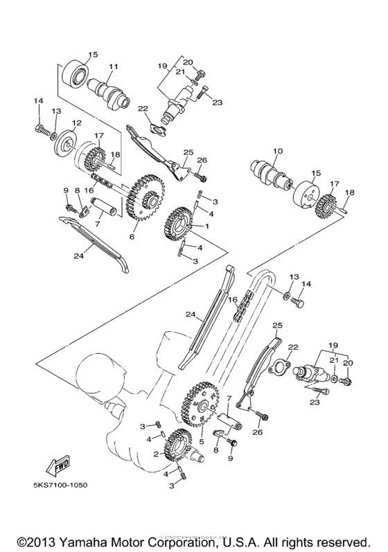
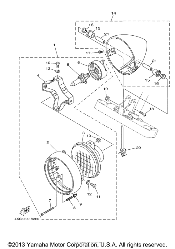
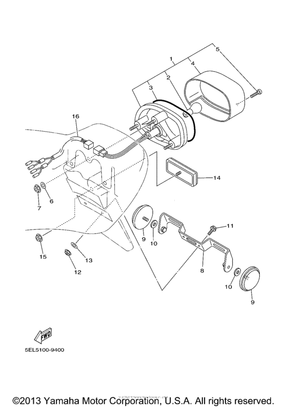
Запчасти для мотоциклов Yamaha XVS11SC V-Star Custom

Год: 2004  •  Код модели: 5PBK  •  Объем двигателя: 1100

Запчасти для мотоциклов Yamaha XVS11SC V-Star Custom
Вид: