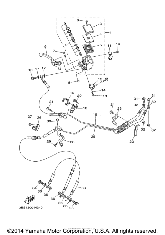
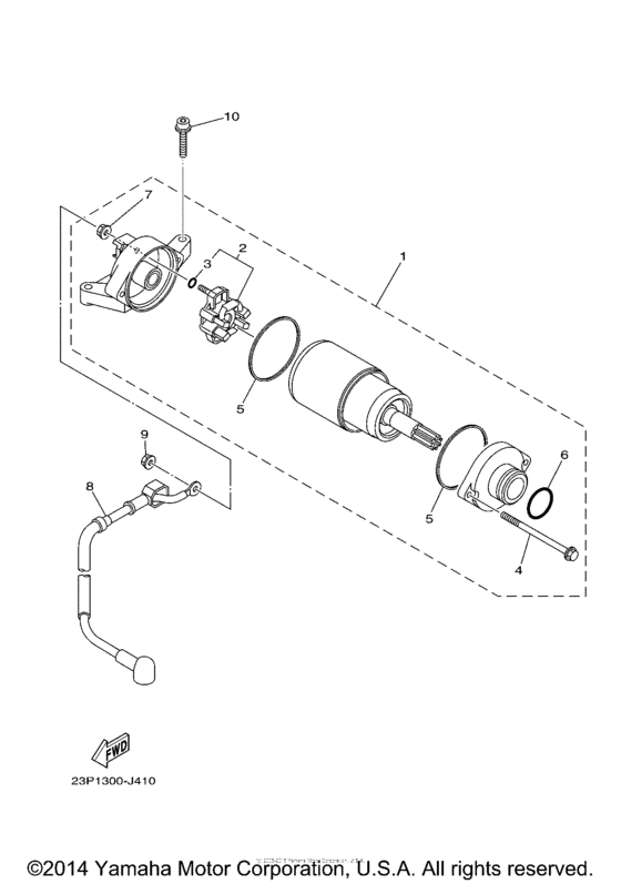
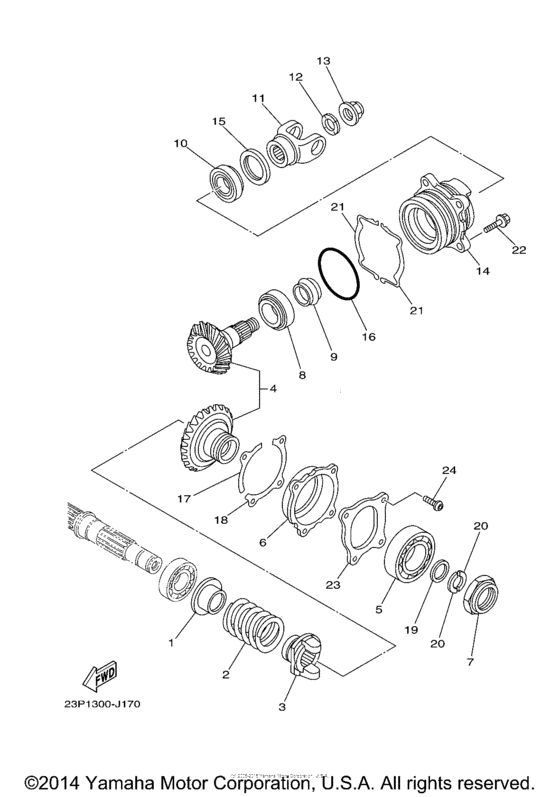
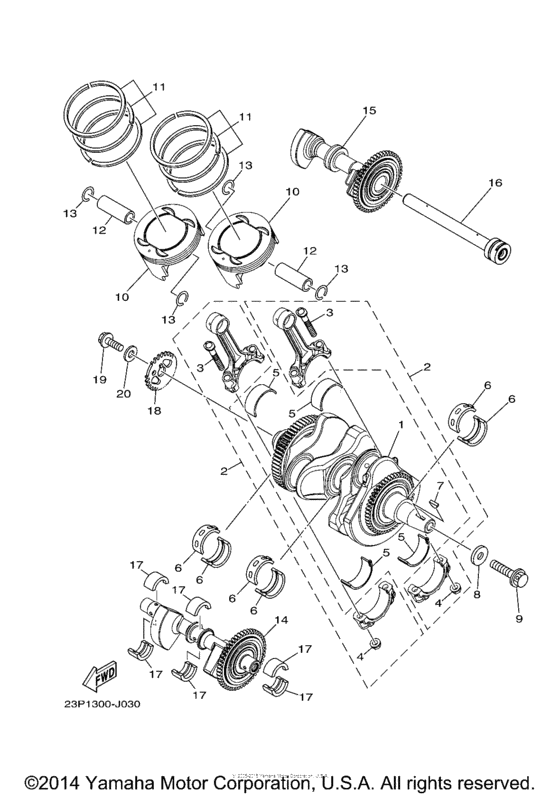
Запчасти для мотоциклов Yamaha XTZ1200E Super Tenere ES

Год: 2015  •  Код модели: 2KBG  •  Объем двигателя: 1200

Запчасти для мотоциклов Yamaha XTZ1200E Super Tenere ES