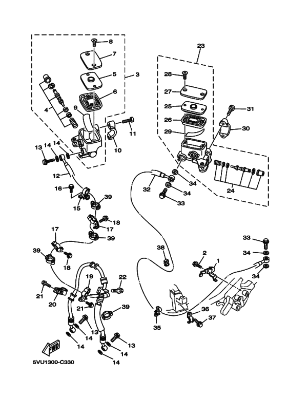
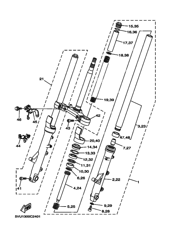
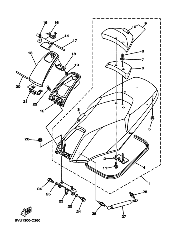
Запчасти для мотоциклов Yamaha XP500 T-MAX

Год: 2004  •  Код модели: 5VU1  •  Объем двигателя: 500

Запчасти для мотоциклов Yamaha XP500 T-MAX
Вид: