• О Компании
  • Оплата и Доставка
  • Помощь
  • Обратная связь
  • Контакты
  • Telegram
  • ВКонтакте
  • Telegram
  • ВКонтакте
  • Регистрация
  • Авторизация
Интернет магазин мотозапчастей PartsFor.ru
Москва и регионы России
  • Личный кабинет
    • Заказы
    • Оплаты
    • Отгрузки
    • Сообщения
    • Профиль
    • Выход
  • Оригинальные запчасти
    • Для мотоциклов
    • Yamaha
    • Honda
    • Suzuki
    • Kawasaki
    • Harley Davidson
    • Ducati
    • Can-Am
    • Aprilia
    • BMW
    • Triumph
    • Husaberg
    • Husqvarna
    • KTM
    • Indian
    • Victory
    • Slingshot
    • Для мотоциклов
    • Для квадроциклов
    • Для снегоходов
    • Для мотовездеходов
    • Для гидроциклов
    • Для лодочных моторов
    • Для катеров
    • Для судовых двигателей
    • Для генераторов
    • Для квадроциклов
    • Yamaha
    • Honda
    • Suzuki
    • Kawasaki
    • Arctic Cat
    • Can-Am
    • Polaris
    • KTM
    • Для снегоходов
    • Yamaha
    • Arctic Cat
    • Lynx
    • Ski-Doo
    • Polaris
    • Для генераторов
    • Для мотовездеходов
    • Yamaha
    • Honda
    • Suzuki
    • Kawasaki
    • Arctic Cat
    • Can-Am
    • Polaris
    • Polaris RZR
    • Для гидроциклов
    • Yamaha
    • Honda Marine
    • Kawasaki
    • Arctic Cat
    • Polaris
    • Sea-Doo
    • Для лодочных моторов
    • Для катеров
    • Для суд. двигателей
    • Для генераторов
    • Для лодочных моторов
    • Yamaha
    • Honda Marine
    • Suzuki Marine
    • Evinrude
    • Johnson
    • Nissan
    • Tohatsu
    • Mercury
    • Force
    • Mariner
    • Для катеров
    • Yamaha
    • Sea-Doo
    • Для суд. двигателей
    • Для спецтехники
  • Неоригинал, расходники
  • Заказ по каталогам
    • КАТАЛОГ PARTS UNLIMITED
  • Моторезина
  1. Главная
  2. Запчасти для мотоциклов
  3. Yamaha
  4. XJ900
  5. XJ900S

Запчасти для мотоциклов Yamaha XJ900S Diversion

Год: 1996  •  Код модели: 4PR2  •  Объем двигателя: 900

Запчасти для мотоциклов Yamaha XJ900S Diversion
Вид:

  • XJ900S Головка цилиндров
    Головка цилиндров
  • XJ900S Цилиндры
    Цилиндры
  • XJ900S Коленчатый вал и поршни
    Коленчатый вал и поршни
  • XJ900S Клапана
    Клапана
  • XJ900S Camshaft. chain
    Camshaft. chain
  • XJ900S Масляный насос
    Масляный насос
  • XJ900S Масляный картер
    Масляный картер
  • XJ900S Масляный фильтр
    Масляный фильтр
  • XJ900S Впускная система
    Впускная система
  • XJ900S Система забора воздуха
    Система забора воздуха
  • XJ900S Карбюратор
    Карбюратор
  • XJ900S Выхлопная система
    Выхлопная система
  • XJ900S Картер двигателя
    Картер двигателя
  • XJ900S Крышка картера двигателя
    Крышка картера двигателя
  • XJ900S Стартер
    Стартер
  • XJ900S Сцепление
    Сцепление
  • XJ900S Трансмиссия
    Трансмиссия
  • XJ900S Промежуточный ведущий вал
    Промежуточный ведущий вал
  • XJ900S Shift cam. fork
    Shift cam. fork
  • XJ900S Вал переключения
    Вал переключения
  • XJ900S Рама
    Рама
  • XJ900S Крыло
    Крыло
  • XJ900S Side cover  /  oil tank
    Side cover / oil tank
  • XJ900S Rear arm. suspension
    Rear arm. suspension
  • XJ900S Ведущий вал
    Ведущий вал
  • XJ900S Управление
    Управление
  • XJ900S Передняя вилка
    Передняя вилка
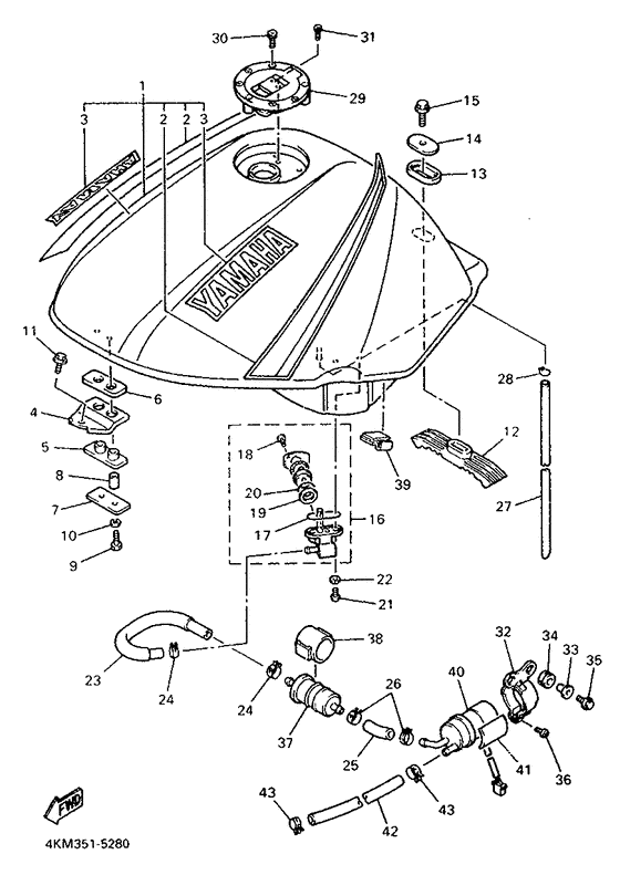
  • XJ900S Топливный бак
    Топливный бак
  • XJ900S Сиденье
    Сиденье
  • XJ900S Переднее колесо
    Переднее колесо
  • XJ900S Front brake. caliper
    Front brake. caliper
  • XJ900S Переднее колесо
    Переднее колесо
  • XJ900S Задний суппорт
    Задний суппорт
  • XJ900S Steering handle. cable
    Steering handle. cable
  • XJ900S Главный тормозной цилиндр
    Главный тормозной цилиндр
  • XJ900S Stand. footrest
    Stand. footrest
  • XJ900S Задний торм цилиндр
    Задний торм цилиндр
  • XJ900S Обтекатель 1
    Обтекатель 1
  • XJ900S Генератор
    Генератор
  • XJ900S Pick up coil. governor
    Pick up coil. governor
  • XJ900S Стартер
    Стартер
  • XJ900S Поворотники
    Поворотники
  • XJ900S Приборы
    Приборы
  • XJ900S Фара
    Фара
  • XJ900S Фара 2
    Фара 2
    FOR OCEANIA
  • XJ900S Фонарь
    Фонарь
  • XJ900S Handle switch. lever
    Handle switch. lever
  • XJ900S Электрика 1
    Электрика 1
  • XJ900S Электрика 2
    Электрика 2



  Информация
  • Новости
  • О Компании
  • Оплата и Доставка
  • Помощь
  • Обратная связь
  • Контакты
  OEM запчасти
  • Запчасти для мотоциклов
  • Запчасти для квадроциклов
  • Запчасти для снегоходов
  • Запчасти для мотовездеходов
  • Запчасти для гидроциклов
  • Запчасти для лодочных моторов
  Наши контакты
  • ИП Зуев Артем Павлович
  • г. Москва 2-я Хуторская улица, д.29, офис 214
  • Email: info@partsfor.ru

Тел: ‎8(495) 532-03-60
8(909) 958-46-33; 8(925) 200-16-98

* все разговоры записываются
С 10.00 до 19.00 ПН - ПТ

© 2026 Интернет магазин запчастей для мототехники ПартсФор.

  • PaymentGateway
  • PaymentGateway
Договор-оферта
Образец договора для юр.лиц
Пользовательское соглашение
Политика конфиденциальности

Товар добавлен в корзину

Выбранный товар добавлен в Вашу корзину.
Далее Вы можете перейти в корзину для оформления заказа или закрыть это окно и продолжить покупки.

Перейти в корзину

Выбор модели техники

Выбрать