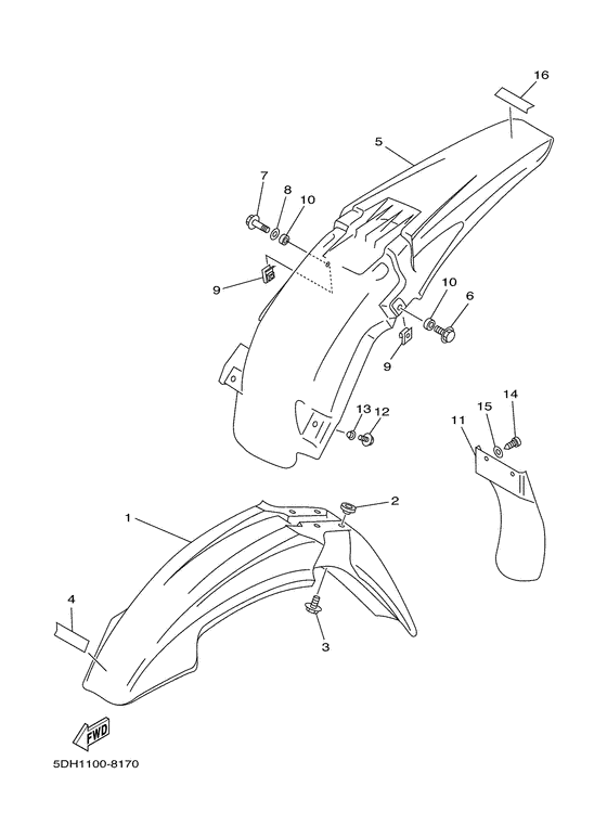
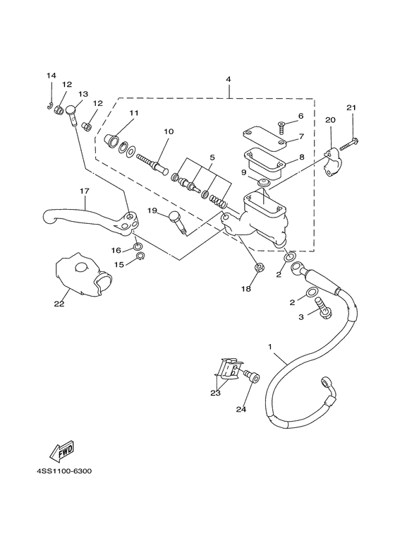
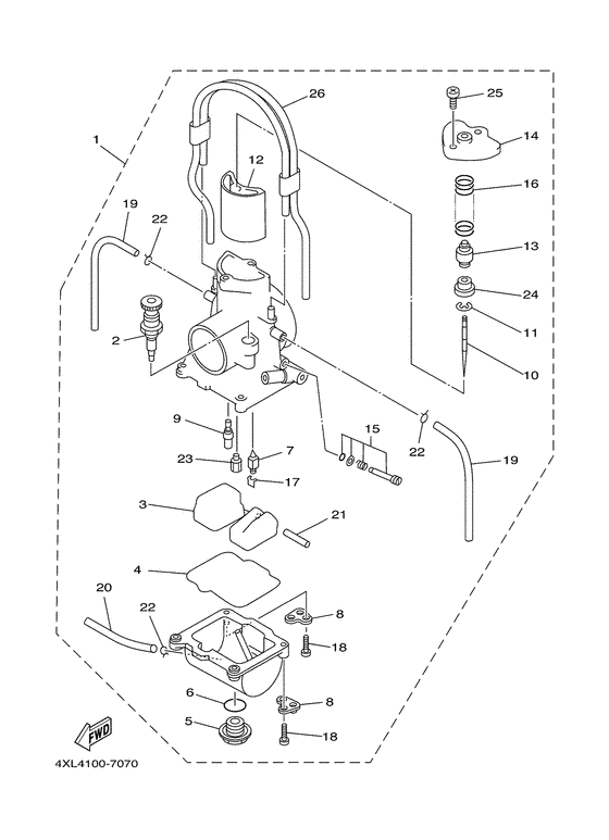
Запчасти для мотоциклов Yamaha WR250Z WR250Z

Год: 1998  •  Код модели: 5EN2  •  Объем двигателя: 250

Запчасти для мотоциклов Yamaha WR250Z WR250Z
Вид: