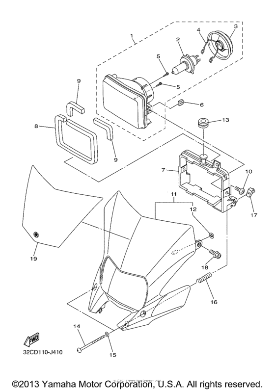
1 | | Блок освещения | |
1 |
|
|
32C-84310-00-00
Блок освещения
ОПРОС ПОСТАВЩИКОВ...
Для сборки этого узла требуется 1 шт.
* ориентировочный срок поставки
|
|
2 | | Деталь Bulb (12V-60/55W) | |
2 |
|
|
5V2-84314-00-XX
Деталь Bulb (12V-60/55W)
ОПРОС ПОСТАВЩИКОВ...
Для сборки этого узла требуется 1 шт.
* ориентировочный срок поставки
|
|
2 | | Деталь Headlight Bulb 12V 60/55W H4 | |
2 |
|
|
YMC-00903-00-00
Деталь Headlight Bulb 12V 60/55W H4
ОПРОС ПОСТАВЩИКОВ...
Для сборки этого узла требуется 1 шт.
* ориентировочный срок поставки
|
|
|
замена |
| | | Лампа (12v-60/55w) Bulb, headlight (12v-60/55w) 12V-60/55W | |
2 |
|
|
32D-84314-00-00
Лампа (12v-60/55w)Bulb, headlight (12v-60/55w) 12V-60/55W
ОПРОС ПОСТАВЩИКОВ...
Для сборки этого узла требуется 1 шт.
* ориентировочный срок поставки
|
|
3 | | Крышка | |
3 |
|
|
32D-84378-00-00
Крышка
ОПРОС ПОСТАВЩИКОВ...
Для сборки этого узла требуется 1 шт.
* ориентировочный срок поставки
|
|
4 | | Пружина | |
4 |
|
|
32D-84335-00-00
Пружина
ОПРОС ПОСТАВЩИКОВ...
Для сборки этого узла требуется 1 шт.
* ориентировочный срок поставки
|
|
5 | | Болт | |
5 |
|
|
32D-84726-00-00
Болт
ОПРОС ПОСТАВЩИКОВ...
Для сборки этого узла требуется 2 шт.
* ориентировочный срок поставки
|
|
6 | | Гайка | |
6 |
|
|
32D-84117-00-00
Гайка
ОПРОС ПОСТАВЩИКОВ...
Для сборки этого узла требуется 2 шт.
* ориентировочный срок поставки
|
|
7 | | Кронштейн фары | |
7 |
|
|
32D-84118-00-00
Кронштейн фары
ОПРОС ПОСТАВЩИКОВ...
Для сборки этого узла требуется 1 шт.
* ориентировочный срок поставки
|
|
8 | | Амортизатор | |
8 |
|
|
32D-84527-00-00
Амортизатор
ОПРОС ПОСТАВЩИКОВ...
Для сборки этого узла требуется 1 шт.
* ориентировочный срок поставки
|
|
9 | | Амортизатор | |
9 |
|
|
32D-84553-00-00
Амортизатор
ОПРОС ПОСТАВЩИКОВ...
Для сборки этого узла требуется 2 шт.
* ориентировочный срок поставки
|
|
10 | | Болт | |
10 |
|
|
92017-06016-00
Болт
ОПРОС ПОСТАВЩИКОВ...
Для сборки этого узла требуется 2 шт.
* ориентировочный срок поставки
|
|
|
замена |
| | | Болт под шестигранник | |
10 |
|
|
90110-06090-00
Болт под шестигранник
ОПРОС ПОСТАВЩИКОВ...
Для сборки этого узла требуется 2 шт.
* ориентировочный срок поставки
|
|
11 | | Корпус | |
11 |
|
|
32D-84330-00-00
Корпус
ОПРОС ПОСТАВЩИКОВ...
Для сборки этого узла требуется 1 шт.
* ориентировочный срок поставки
|
|
12 | | Гайка пружинная | |
12 |
|
|
90183-05068-00
Гайка пружинная
ОПРОС ПОСТАВЩИКОВ...
Для сборки этого узла требуется 2 шт.
* ориентировочный срок поставки
|
|
13 | | Уплотнитель резиновый | |
13 |
|
|
90480-16008-00
Уплотнитель резиновый
ОПРОС ПОСТАВЩИКОВ...
Для сборки этого узла требуется 1 шт.
* ориентировочный срок поставки
|
|
14 | | Винт | |
14 |
|
|
90157-04001-00
Винт
ОПРОС ПОСТАВЩИКОВ...
Для сборки этого узла требуется 2 шт.
* ориентировочный срок поставки
|
|
|
замена |
| | | Винт | |
14 |
|
|
341-84331-60-00
Винт
ОПРОС ПОСТАВЩИКОВ...
Для сборки этого узла требуется 2 шт.
* ориентировочный срок поставки
|
|
15 | | Шайба | |
15 |
|
|
92990-04600-00
Шайба
ОПРОС ПОСТАВЩИКОВ...
Для сборки этого узла требуется 2 шт.
* ориентировочный срок поставки
|
|
|
замена |
| | | Шайба | |
15 |
|
|
92902-04600-00
Шайба
ОПРОС ПОСТАВЩИКОВ...
Для сборки этого узла требуется 2 шт.
* ориентировочный срок поставки
|
|
16 | | Деталь Spring, Adjust | |
16 |
|
|
341-84332-60-00
Деталь Spring, Adjust
ОПРОС ПОСТАВЩИКОВ...
Для сборки этого узла требуется 2 шт.
* ориентировочный срок поставки
|
|
17 | | Гайка | |
17 |
|
|
198-84334-60-00
Гайка
ОПРОС ПОСТАВЩИКОВ...
Для сборки этого узла требуется 2 шт.
* ориентировочный срок поставки
|
|
18 | | Болт | |
18 |
|
|
90105-06064-00
Болт
ОПРОС ПОСТАВЩИКОВ...
Для сборки этого узла требуется 2 шт.
* ориентировочный срок поставки
|
|
19 | | Графика | |
19 |
|
|
32D-8411B-00-00
Графика
ОПРОС ПОСТАВЩИКОВ...
Для сборки этого узла требуется 1 шт.
* ориентировочный срок поставки
|
|