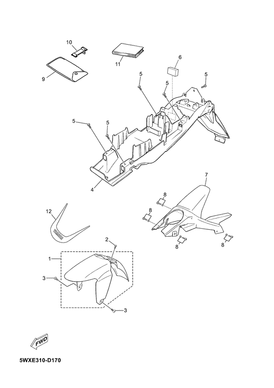
Крыло

Yamaha TZR50

Yamaha
Крыло
#oem кодцена
01
5WX-F1510-10-P1
Деталь Front Fender Comp
02
03
90110-05201-00
Болт диагональный
04
5WX-F1629-10-00
Брызговик
05
замена
06
5WX-F1669-00-00
Валик
07
5WX-F1650-00-00
Деталь Rear Fender Comp
08
90159-06X02-00
Винт с шайбой
09
5WX-F8100-00-00
Комплект инструментов
10
1TK-H2131-00-00
Комплект аккумулятора
11
5WX-F8199-F0-00
Деталь Om Tzr50 '03
замена
5WX-F8199-F1-00
Деталь Manual,owner's
12
5WX-F8199-G1-00
Деталь Manual,owner's
13
5WX-F8199-H1-00
Деталь Manual,owner's
14
5WX-F1578-R0-00
Эмблема