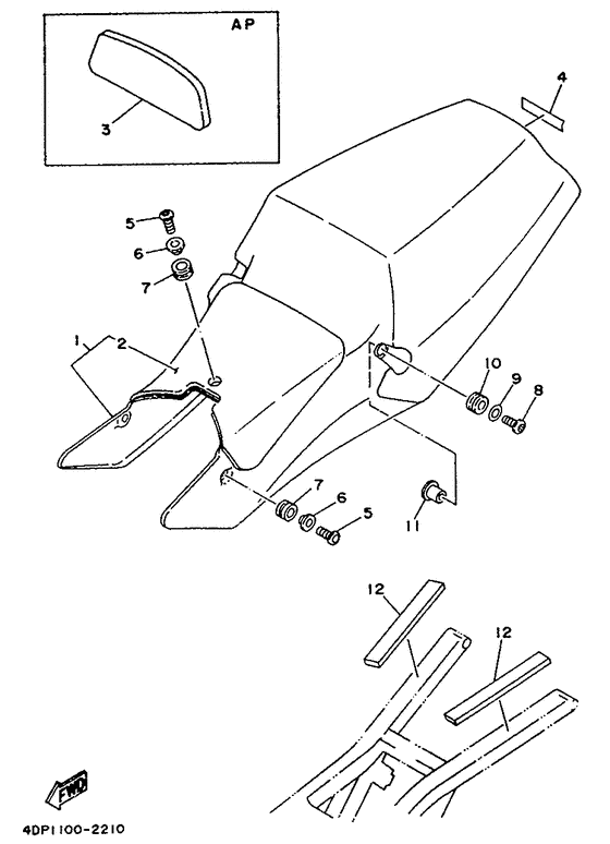
01 | | Одноместное сиденье | |
01 |
|
|
4DP-24710-00-00
Одноместное сиденье
ОПРОС ПОСТАВЩИКОВ...
Для сборки этого узла требуется 1 шт.
* ориентировочный срок поставки
|
|
02 | | Подушка | |
02 |
|
|
4DP-24713-00-00
Подушка
ОПРОС ПОСТАВЩИКОВ...
Для сборки этого узла требуется 1 шт.
* ориентировочный срок поставки
|
|
|
замена |
| | | Подушка | |
02 |
|
|
3YL-24713-00-00
Подушка
ОПРОС ПОСТАВЩИКОВ...
Для сборки этого узла требуется 1 шт.
* ориентировочный срок поставки
|
|
03 | | Подушка Ap | |
03 |
|
|
3YL-24733-00-00
Подушка Ap
ОПРОС ПОСТАВЩИКОВ...
Для сборки этого узла требуется 1 шт.
* ориентировочный срок поставки
|
|
04 | | Эмблема | |
04 |
|
|
99244-00100-00
Эмблема
ОПРОС ПОСТАВЩИКОВ...
Для сборки этого узла требуется 1 шт.
* ориентировочный срок поставки
|
|
|
замена |
| | | Эмблема Ur | |
04 |
|
|
99234-00025-00
Эмблема Ur
ОПРОС ПОСТАВЩИКОВ...
Для сборки этого узла требуется 1 шт.
* ориентировочный срок поставки
|
|
04 | | Эмблема | |
04 |
|
|
99241-00100-00
Эмблема
ОПРОС ПОСТАВЩИКОВ...
Для сборки этого узла требуется 1 шт.
* ориентировочный срок поставки
|
|
|
замена |
| | | Эмблема Ur | |
04 |
|
|
99231-00025-00
Эмблема Ur
ОПРОС ПОСТАВЩИКОВ...
Для сборки этого узла требуется 1 шт.
* ориентировочный срок поставки
|
|
05 | | Болт | |
05 |
|
|
92017-06025-00
Болт
ОПРОС ПОСТАВЩИКОВ...
Для сборки этого узла требуется 3 шт.
* ориентировочный срок поставки
|
|
|
замена |
| | | Болт | |
05 |
|
|
92019-06025-00
Болт
ОПРОС ПОСТАВЩИКОВ...
Для сборки этого узла требуется 3 шт.
* ориентировочный срок поставки
|
|
06 | | Манжета | |
06 |
|
|
90387-062L2-00
Манжета
ОПРОС ПОСТАВЩИКОВ...
Для сборки этого узла требуется 3 шт.
* ориентировочный срок поставки
|
|
07 | | Уплотнитель резиновый | |
07 |
|
|
90480-13018-00
Уплотнитель резиновый
ОПРОС ПОСТАВЩИКОВ...
Для сборки этого узла требуется 3 шт.
* ориентировочный срок поставки
|
|
08 | | Болт | |
08 |
|
|
92014-08025-00
Болт
ОПРОС ПОСТАВЩИКОВ...
Для сборки этого узла требуется 2 шт.
* ориентировочный срок поставки
|
|
|
замена |
| | | Болт | |
08 |
|
|
92011-08025-00
Болт
ОПРОС ПОСТАВЩИКОВ...
Для сборки этого узла требуется 2 шт.
* ориентировочный срок поставки
|
|
09 | | Шайба | |
09 |
|
|
90201-085E6-00
Шайба
ОПРОС ПОСТАВЩИКОВ...
Для сборки этого узла требуется 2 шт.
* ориентировочный срок поставки
|
|
10 | | Деталь Grommet(3Ak) | |
10 |
|
|
90480-18495-00
Деталь Grommet(3Ak)
ОПРОС ПОСТАВЩИКОВ...
Для сборки этого узла требуется 2 шт.
* ориентировочный срок поставки
|
|
11 | | Манжета | |
11 |
|
|
90387-083U8-00
Манжета
ОПРОС ПОСТАВЩИКОВ...
Для сборки этого узла требуется 2 шт.
* ориентировочный срок поставки
|
|
12 | | Амортизатор | |
12 |
|
|
4A0-83541-00-00
Амортизатор
ОПРОС ПОСТАВЩИКОВ...
Для сборки этого узла требуется 2 шт.
* ориентировочный срок поставки
|
|
|
замена |
| | | Демпфер | |
12 |
|
|
3TC-24723-00-00
Демпфер
ОПРОС ПОСТАВЩИКОВ...
Для сборки этого узла требуется 2 шт.
* ориентировочный срок поставки
|
|