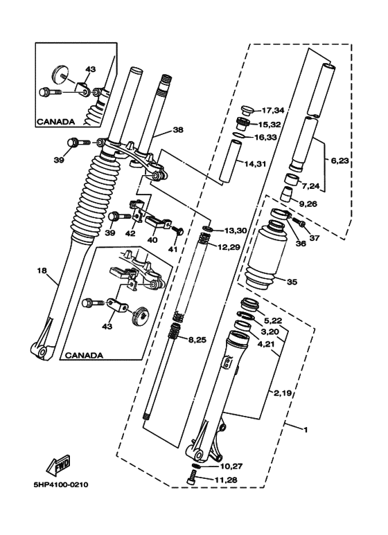
Запчасти для мотоциклов Yamaha TT-R125

Год: 2001  •  Код модели: 5HP6  •  Объем двигателя: 125

Запчасти для мотоциклов Yamaha  TT-R125
Вид: