• О Компании
  • Оплата и Доставка
  • Помощь
  • Обратная связь
  • Контакты
  • Telegram
  • ВКонтакте
  • Telegram
  • ВКонтакте
  • Регистрация
  • Авторизация
Интернет магазин мотозапчастей PartsFor.ru
Москва и регионы России
  • Личный кабинет
    • Заказы
    • Оплаты
    • Отгрузки
    • Сообщения
    • Профиль
    • Выход
  • Оригинальные запчасти
    • Для мотоциклов
    • Yamaha
    • Honda
    • Suzuki
    • Kawasaki
    • Harley Davidson
    • Ducati
    • Can-Am
    • Aprilia
    • BMW
    • Triumph
    • Husaberg
    • Husqvarna
    • KTM
    • Indian
    • Victory
    • Slingshot
    • Для мотоциклов
    • Для квадроциклов
    • Для снегоходов
    • Для мотовездеходов
    • Для гидроциклов
    • Для лодочных моторов
    • Для катеров
    • Для судовых двигателей
    • Для генераторов
    • Для квадроциклов
    • Yamaha
    • Honda
    • Suzuki
    • Kawasaki
    • Arctic Cat
    • Can-Am
    • Polaris
    • KTM
    • Для снегоходов
    • Yamaha
    • Arctic Cat
    • Lynx
    • Ski-Doo
    • Polaris
    • Для генераторов
    • Для мотовездеходов
    • Yamaha
    • Honda
    • Suzuki
    • Kawasaki
    • Arctic Cat
    • Can-Am
    • Polaris
    • Polaris RZR
    • Для гидроциклов
    • Yamaha
    • Honda Marine
    • Kawasaki
    • Arctic Cat
    • Polaris
    • Sea-Doo
    • Для лодочных моторов
    • Для катеров
    • Для суд. двигателей
    • Для генераторов
    • Для лодочных моторов
    • Yamaha
    • Honda Marine
    • Suzuki Marine
    • Evinrude
    • Johnson
    • Nissan
    • Tohatsu
    • Mercury
    • Force
    • Mariner
    • Для катеров
    • Yamaha
    • Sea-Doo
    • Для суд. двигателей
    • Для спецтехники
  • Неоригинал, расходники
  • Заказ по каталогам
    • КАТАЛОГ PARTS UNLIMITED
  • Моторезина
  1. Главная
  2. Запчасти для мотоциклов
  3. Yamaha
  4. PW80
  5. PW80D

Запчасти для мотоциклов Yamaha PW80D Zinger

Год: 1992  •  Объем двигателя: 80

Запчасти для мотоциклов Yamaha PW80D Zinger
Вид:

  • PW80D Воздушный фильтр
    Воздушный фильтр
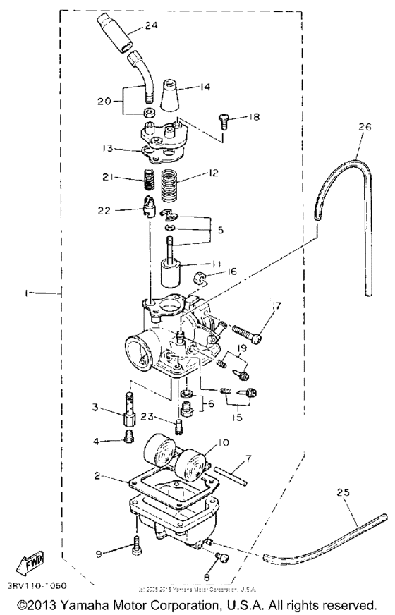
  • PW80D Карбюратор
    Карбюратор
  • PW80D Сцепление
    Сцепление
  • PW80D Картер двигателя
    Картер двигателя
  • PW80D Коленвал,поршни
    Коленвал,поршни
  • PW80D Цилиндры
    Цилиндры
  • PW80D Электрика
    Электрика
    1
  • PW80D Выхлопная система
    Выхлопная система
  • PW80D Рама
    Рама
  • PW80D Переднее крыло
    Переднее крыло
  • PW80D Передняя вилка
    Передняя вилка
  • PW80D Переднее колесо
    Переднее колесо
  • PW80D Топливный бак
    Топливный бак
  • PW80D Генератор
    Генератор
  • PW80D Handle switch - lever
    Handle switch - lever
  • PW80D Руль -тросы
    Руль -тросы
  • PW80D Масляный насос
    Масляный насос
  • PW80D Переднее колесо
    Переднее колесо
  • PW80D Сиденье
    Сиденье
  • PW80D Боковые обтекатели
    Боковые обтекатели
  • PW80D Stand - footrest
    Stand - footrest
  • PW80D Стартер
    Стартер
  • PW80D Swing arm - rear shocks
    Swing arm - rear shocks
  • PW80D Трансмиссия
    Трансмиссия
  • PW80D Oil tank - tool
    Oil tank - tool
  • PW80D Shift cam - fork
    Shift cam - fork
  • PW80D Вал переключения
    Вал переключения
  • PW80D Управление
    Управление
  • PW80D Боковые крышки
    Боковые крышки
    1



  Информация
  • Новости
  • О Компании
  • Оплата и Доставка
  • Помощь
  • Обратная связь
  • Контакты
  OEM запчасти
  • Запчасти для мотоциклов
  • Запчасти для квадроциклов
  • Запчасти для снегоходов
  • Запчасти для мотовездеходов
  • Запчасти для гидроциклов
  • Запчасти для лодочных моторов
  Наши контакты
  • ИП Зуев Артем Павлович
  • г. Москва 2-я Хуторская улица, д.29, офис 214
  • Email: info@partsfor.ru

Тел: ‎8(495) 532-03-60
8(909) 958-46-33; 8(925) 200-16-98

* все разговоры записываются
С 10.00 до 19.00 ПН - ПТ

© 2026 Интернет магазин запчастей для мототехники ПартсФор.

  • PaymentGateway
  • PaymentGateway
Договор-оферта
Образец договора для юр.лиц
Пользовательское соглашение
Политика конфиденциальности

Товар добавлен в корзину

Выбранный товар добавлен в Вашу корзину.
Далее Вы можете перейти в корзину для оформления заказа или закрыть это окно и продолжить покупки.

Перейти в корзину

Выбор модели техники

Выбрать