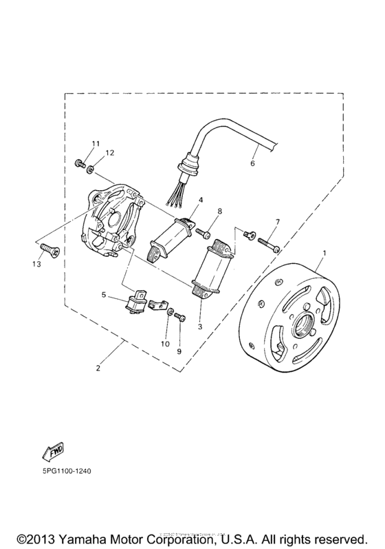
Генератор

Yamaha PW50T1 Zinger

Yamaha
Генератор
#oem кодцена
1
3L6-85550-M1-00
Ротор
замена
3L6-85550-M0-00
Ротор
2
3PT-85560-00-00
Основание
3
4X4-81313-M0-00
Катушка
4
4Y4-85520-M0-00
Катушка
5
3L5-85580-M0-00
Катушка
6
3PT-8131X-00-00
Гнездо
7
8
9
10
92907-04100-00
Шайба, стопорная
11
замена
12
92907-04100-00
Шайба, стопорная
13