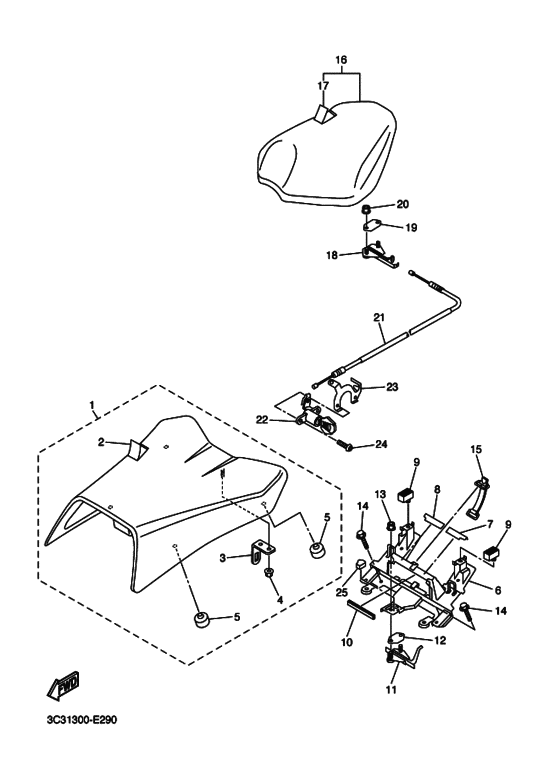
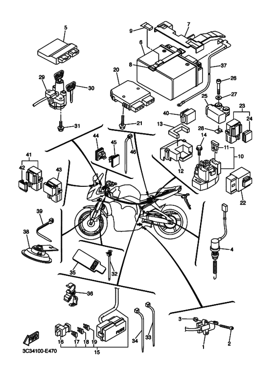
Запчасти для мотоциклов Yamaha FZ1-S FZ1 FAZER (S-TYPE)

Год: 2006  •  Код модели: 3C36  •  Объем двигателя: 1000

Запчасти для мотоциклов Yamaha FZ1-S FZ1 FAZER (S-TYPE)
Вид: