• О Компании
  • Оплата и Доставка
  • Помощь
  • Обратная связь
  • Контакты
  • Telegram
  • ВКонтакте
  • Telegram
  • ВКонтакте
  • Регистрация
  • Авторизация
Интернет магазин мотозапчастей PartsFor.ru
Москва и регионы России
  • Личный кабинет
    • Заказы
    • Оплаты
    • Отгрузки
    • Сообщения
    • Профиль
    • Выход
  • Оригинальные запчасти
    • Для мотоциклов
    • Yamaha
    • Honda
    • Suzuki
    • Kawasaki
    • Harley Davidson
    • Ducati
    • Can-Am
    • Aprilia
    • BMW
    • Triumph
    • Husaberg
    • Husqvarna
    • KTM
    • Indian
    • Victory
    • Slingshot
    • Для мотоциклов
    • Для квадроциклов
    • Для снегоходов
    • Для мотовездеходов
    • Для гидроциклов
    • Для лодочных моторов
    • Для катеров
    • Для судовых двигателей
    • Для генераторов
    • Для квадроциклов
    • Yamaha
    • Honda
    • Suzuki
    • Kawasaki
    • Arctic Cat
    • Can-Am
    • Polaris
    • KTM
    • Для снегоходов
    • Yamaha
    • Arctic Cat
    • Lynx
    • Ski-Doo
    • Polaris
    • Для генераторов
    • Для мотовездеходов
    • Yamaha
    • Honda
    • Suzuki
    • Kawasaki
    • Arctic Cat
    • Can-Am
    • Polaris
    • Polaris RZR
    • Для гидроциклов
    • Yamaha
    • Honda Marine
    • Kawasaki
    • Arctic Cat
    • Polaris
    • Sea-Doo
    • Для лодочных моторов
    • Для катеров
    • Для суд. двигателей
    • Для генераторов
    • Для лодочных моторов
    • Yamaha
    • Honda Marine
    • Suzuki Marine
    • Evinrude
    • Johnson
    • Nissan
    • Tohatsu
    • Mercury
    • Force
    • Mariner
    • Для катеров
    • Yamaha
    • Sea-Doo
    • Для суд. двигателей
    • Для спецтехники
  • Неоригинал, расходники
  • Заказ по каталогам
    • КАТАЛОГ PARTS UNLIMITED
  • Моторезина
  1. Главная
  2. Запчасти для мотоциклов
  3. Yamaha
  4. FJR1300
  5. FJR1300A

Запчасти для мотоциклов Yamaha FJR1300A

Год: 2005  •  Код модели: 5VSG  •  Объем двигателя: 1300

Запчасти для мотоциклов Yamaha FJR1300A
Вид:

  • FJR1300A Cilindro
    Cilindro
  • FJR1300A Ciguenal & piston
    Ciguenal & piston
  • FJR1300A Клапана
    Клапана
  • FJR1300A Arbol de levas & cadena
    Arbol de levas & cadena
  • FJR1300A Водяной насос
    Водяной насос
  • FJR1300A Radiador & manguera
    Radiador & manguera
  • FJR1300A Масляный насос
    Масляный насос
    MARIN GEAR
  • FJR1300A Масляный картер
    Масляный картер
  • FJR1300A Впускная система
    Впускная система
  • FJR1300A Exhaust system 2
    Exhaust system 2
    R/G
  • FJR1300A Система забора воздуха
    Система забора воздуха
  • FJR1300A Выхлопная система
    Выхлопная система
  • FJR1300A Картер двигателя
    Картер двигателя
  • FJR1300A Крышка картера двигателя
    Крышка картера двигателя
  • FJR1300A Стартер
    Стартер
  • FJR1300A Сцепление
    Сцепление
  • FJR1300A Трансмиссия
    Трансмиссия
  • FJR1300A Engranje medio de traccion
    Engranje medio de traccion
  • FJR1300A Leva de cambio & horquilla
    Leva de cambio & horquilla
  • FJR1300A Eje de cambio & pedal
    Eje de cambio & pedal
  • FJR1300A Рама
    Рама
  • FJR1300A Крыло
    Крыло
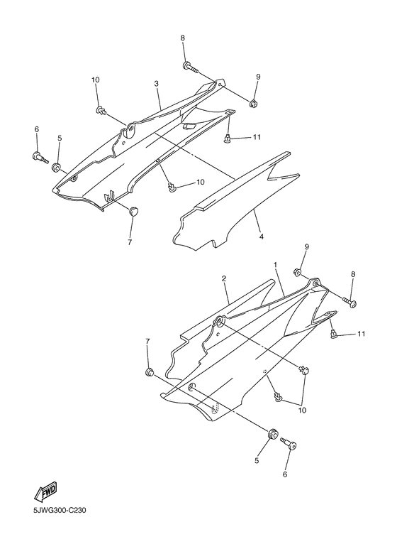
  • FJR1300A Боковые обтекатели
    Боковые обтекатели
  • FJR1300A Бугель
    Бугель
  • FJR1300A Ведущий вал
    Ведущий вал
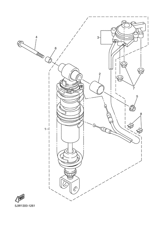
  • FJR1300A Задняя подвеска
    Задняя подвеска
  • FJR1300A Управление
    Управление
  • FJR1300A Передняя вилка
    Передняя вилка
  • FJR1300A Топливный бак
    Топливный бак
  • FJR1300A Сиденье
    Сиденье
  • FJR1300A Переднее колесо
    Переднее колесо
  • FJR1300A Передний тормоз
    Передний тормоз
  • FJR1300A Переднее колесо
    Переднее колесо
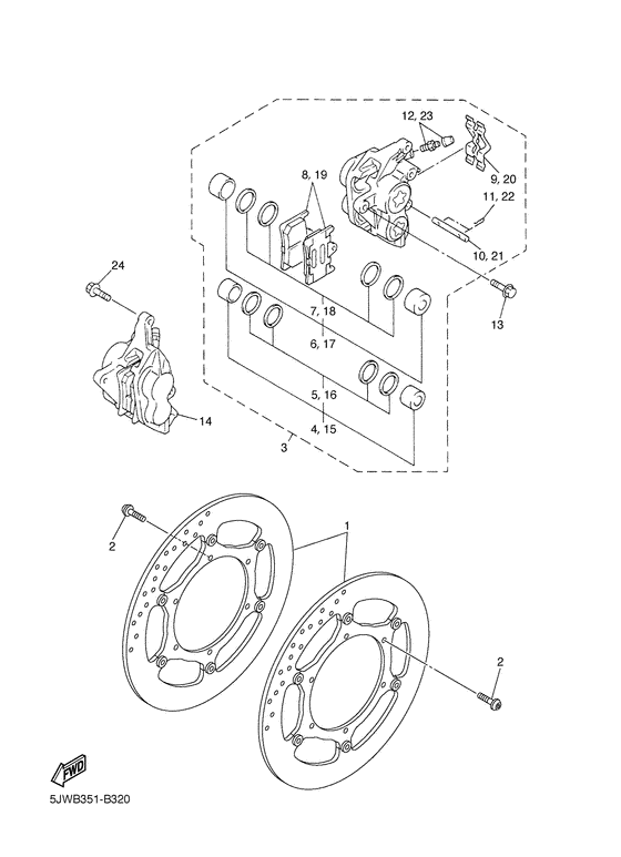
  • FJR1300A Задний суппорт
    Задний суппорт
  • FJR1300A Manillar & cable
    Manillar & cable
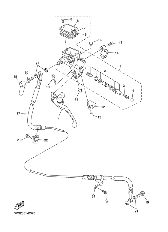
  • FJR1300A Главный тормозной цилиндр
    Главный тормозной цилиндр
  • FJR1300A Передний торм. цилиндр 2
    Передний торм. цилиндр 2
  • FJR1300A Soporte & apoyapie
    Soporte & apoyapie
  • FJR1300A Задний торм цилиндр
    Задний торм цилиндр
  • FJR1300A Обтекатель 1
    Обтекатель 1
  • FJR1300A Обтекатель 2
    Обтекатель 2
  • FJR1300A Генератор
    Генератор
  • FJR1300A Стартер
    Стартер
  • FJR1300A Приборы
    Приборы
  • FJR1300A Фара
    Фара
  • FJR1300A Фонарь
    Фонарь
  • FJR1300A Электрика 1
    Электрика 1
  • FJR1300A Equipo electrico 2
    Equipo electrico 2
  • FJR1300A Электрика 3
    Электрика 3



  Информация
  • Новости
  • О Компании
  • Оплата и Доставка
  • Помощь
  • Обратная связь
  • Контакты
  OEM запчасти
  • Запчасти для мотоциклов
  • Запчасти для квадроциклов
  • Запчасти для снегоходов
  • Запчасти для мотовездеходов
  • Запчасти для гидроциклов
  • Запчасти для лодочных моторов
  Наши контакты
  • ИП Зуев Артем Павлович
  • г. Москва 2-я Хуторская улица, д.29, офис 214
  • Email: info@partsfor.ru

Тел: ‎8(495) 532-03-60
8(909) 958-46-33; 8(925) 200-16-98

* все разговоры записываются
С 10.00 до 19.00 ПН - ПТ

© 2026 Интернет магазин запчастей для мототехники ПартсФор.

  • PaymentGateway
  • PaymentGateway
Договор-оферта
Образец договора для юр.лиц
Пользовательское соглашение
Политика конфиденциальности

Товар добавлен в корзину

Выбранный товар добавлен в Вашу корзину.
Далее Вы можете перейти в корзину для оформления заказа или закрыть это окно и продолжить покупки.

Перейти в корзину

Выбор модели техники

Выбрать