• О Компании
  • Оплата и Доставка
  • Помощь
  • Обратная связь
  • Контакты
  • Telegram
  • ВКонтакте
  • Telegram
  • ВКонтакте
  • Регистрация
  • Авторизация
Интернет магазин мотозапчастей PartsFor.ru
Москва и регионы России
  • Личный кабинет
    • Заказы
    • Оплаты
    • Отгрузки
    • Сообщения
    • Профиль
    • Выход
  • Оригинальные запчасти
    • Для мотоциклов
    • Yamaha
    • Honda
    • Suzuki
    • Kawasaki
    • Harley Davidson
    • Ducati
    • Can-Am
    • Aprilia
    • BMW
    • Triumph
    • Husaberg
    • Husqvarna
    • KTM
    • Indian
    • Victory
    • Slingshot
    • Для мотоциклов
    • Для квадроциклов
    • Для снегоходов
    • Для мотовездеходов
    • Для гидроциклов
    • Для лодочных моторов
    • Для катеров
    • Для судовых двигателей
    • Для генераторов
    • Для квадроциклов
    • Yamaha
    • Honda
    • Suzuki
    • Kawasaki
    • Arctic Cat
    • Can-Am
    • Polaris
    • KTM
    • Для снегоходов
    • Yamaha
    • Arctic Cat
    • Lynx
    • Ski-Doo
    • Polaris
    • Для генераторов
    • Для мотовездеходов
    • Yamaha
    • Honda
    • Suzuki
    • Kawasaki
    • Arctic Cat
    • Can-Am
    • Polaris
    • Polaris RZR
    • Для гидроциклов
    • Yamaha
    • Honda Marine
    • Kawasaki
    • Arctic Cat
    • Polaris
    • Sea-Doo
    • Для лодочных моторов
    • Для катеров
    • Для суд. двигателей
    • Для генераторов
    • Для лодочных моторов
    • Yamaha
    • Honda Marine
    • Suzuki Marine
    • Evinrude
    • Johnson
    • Nissan
    • Tohatsu
    • Mercury
    • Force
    • Mariner
    • Для катеров
    • Yamaha
    • Sea-Doo
    • Для суд. двигателей
    • Для спецтехники
  • Неоригинал, расходники
  • Заказ по каталогам
    • КАТАЛОГ PARTS UNLIMITED
  • Моторезина
  1. Главная
  2. Запчасти для мотоциклов
  3. Yamaha
  4. FJ1200
  5. FJ1200S

Запчасти для мотоциклов Yamaha FJ1200S

Год: 1986  •  Объем двигателя: 1200

Запчасти для мотоциклов Yamaha FJ1200S
Вид:

  • FJ1200S Воздушный фильтр
    Воздушный фильтр
  • FJ1200S Цепь механизма газораспределения
    Цепь механизма газораспределени я
  • FJ1200S Карбюратор
    Карбюратор
  • FJ1200S Сцепление
    Сцепление
  • FJ1200S Обтекатели
    Обтекатели
    1
  • FJ1200S Картер двигателя
    Картер двигателя
  • FJ1200S Боковые крышки
    Боковые крышки
  • FJ1200S Коленчатый вал и Поршень
    Коленчатый вал и Поршень
  • FJ1200S Цилиндры
    Цилиндры
  • FJ1200S Головка цилиндров
    Головка цилиндров
  • FJ1200S Электрика
    Электрика
    2
  • FJ1200S Электрика
    Электрика
    1
  • FJ1200S Выхлопная система
    Выхлопная система
  • FJ1200S Крыло
    Крыло
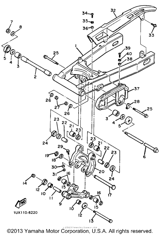
  • FJ1200S Рама
    Рама
  • FJ1200S Передний суппорт
    Передний суппорт
  • FJ1200S Передняя вилка
    Передняя вилка
  • FJ1200S Главный тормозной цилиндр
    Главный тормозной цилиндр
  • FJ1200S Главный тормозной цилиндр
    Главный тормозной цилиндр
    2
  • FJ1200S Переднее колесо
    Переднее колесо
  • FJ1200S Топливный бак
    Топливный бак
  • FJ1200S Генератор
    Генератор
  • FJ1200S Рулевые переключатели
    Рулевые переключатели
  • FJ1200S Троса
    Троса
  • FJ1200S Фара
    Фара
  • FJ1200S Приборы
    Приборы
  • FJ1200S Масляный картер
    Масляный картер
  • FJ1200S Маслянный фильтр
    Маслянный фильтр
  • FJ1200S Масляный насос
    Масляный насос
  • FJ1200S Задний суппорт
    Задний суппорт
  • FJ1200S Задний торм цилиндр
    Задний торм цилиндр
  • FJ1200S Амортизаторы задние
    Амортизаторы задние
  • FJ1200S Переднее колесо
    Переднее колесо
  • FJ1200S Сиденье
    Сиденье
  • FJ1200S Вал переключения
    Вал переключения
  • FJ1200S Боковые обтекатели
    Боковые обтекатели
  • FJ1200S Подножки
    Подножки
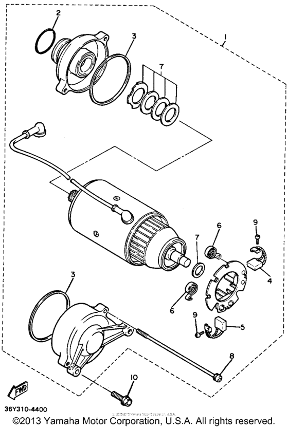
  • FJ1200S Стартер
    Стартер
  • FJ1200S Стартер
    Стартер
  • FJ1200S Управление
    Управление
  • FJ1200S Бугель
    Бугель
  • FJ1200S Фонарь
    Фонарь
  • FJ1200S Трансмиссия
    Трансмиссия
  • FJ1200S Поворотники
    Поворотники
  • FJ1200S Клапана
    Клапана
  • FJ1200S Pickup coil governor
    Pickup coil governor
  • FJ1200S Shift cam
    Shift cam



  Информация
  • Новости
  • О Компании
  • Оплата и Доставка
  • Помощь
  • Обратная связь
  • Контакты
  OEM запчасти
  • Запчасти для мотоциклов
  • Запчасти для квадроциклов
  • Запчасти для снегоходов
  • Запчасти для мотовездеходов
  • Запчасти для гидроциклов
  • Запчасти для лодочных моторов
  Наши контакты
  • ИП Зуев Артем Павлович
  • г. Москва 2-я Хуторская улица, д.29, офис 214
  • Email: info@partsfor.ru

Тел: ‎8(495) 532-03-60
8(909) 958-46-33; 8(925) 200-16-98

* все разговоры записываются
С 10.00 до 19.00 ПН - ПТ

© 2026 Интернет магазин запчастей для мототехники ПартсФор.

  • PaymentGateway
  • PaymentGateway
Договор-оферта
Образец договора для юр.лиц
Пользовательское соглашение
Политика конфиденциальности

Товар добавлен в корзину

Выбранный товар добавлен в Вашу корзину.
Далее Вы можете перейти в корзину для оформления заказа или закрыть это окно и продолжить покупки.

Перейти в корзину

Выбор модели техники

Выбрать