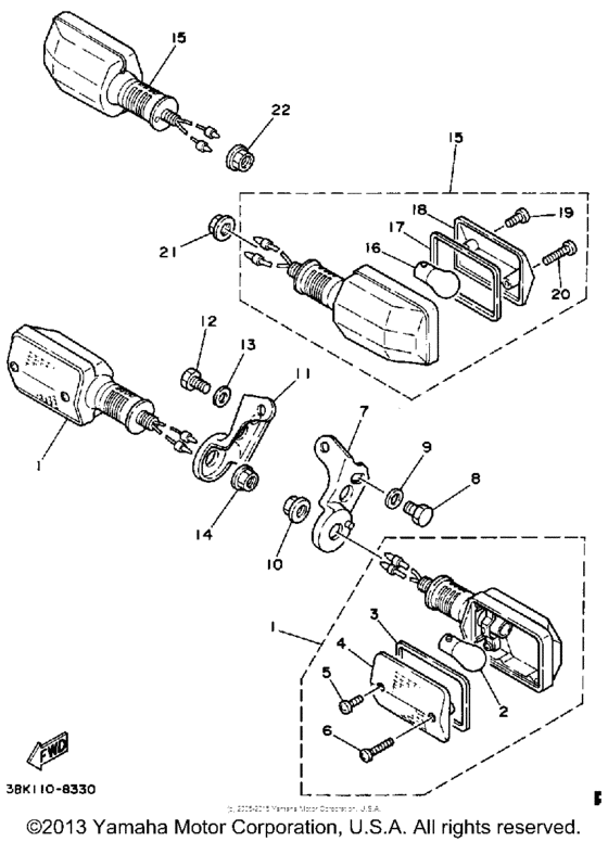
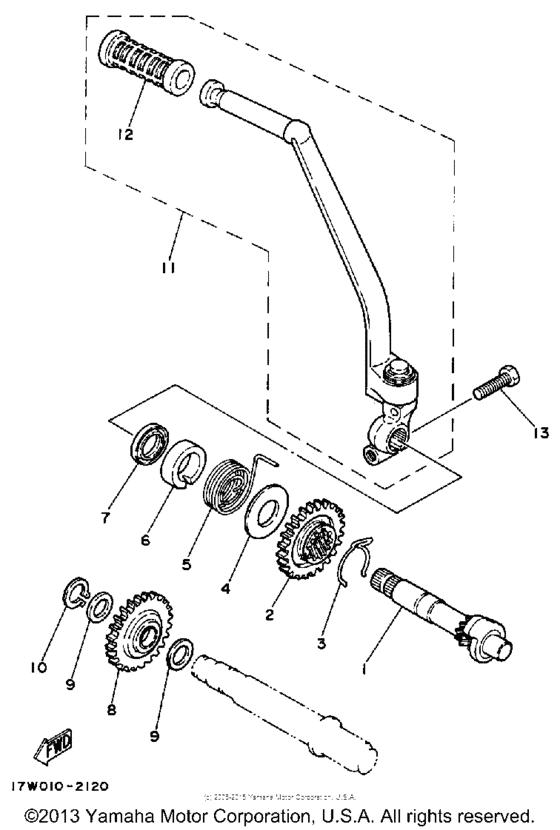
Запчасти для мотоциклов Yamaha DT50L DT50

Год: 1988  •  Объем двигателя: 50

Запчасти для мотоциклов Yamaha DT50L DT50
Вид: