• О Компании
  • Оплата и Доставка
  • Помощь
  • Обратная связь
  • Контакты
  • Telegram
  • ВКонтакте
  • Telegram
  • ВКонтакте
  • Регистрация
  • Авторизация
Интернет магазин мотозапчастей PartsFor.ru
Москва и регионы России
  • Личный кабинет
    • Заказы
    • Оплаты
    • Отгрузки
    • Сообщения
    • Профиль
    • Выход
  • Оригинальные запчасти
    • Для мотоциклов
    • Yamaha
    • Honda
    • Suzuki
    • Kawasaki
    • Harley Davidson
    • Ducati
    • Can-Am
    • Aprilia
    • BMW
    • Triumph
    • Husaberg
    • Husqvarna
    • KTM
    • Indian
    • Victory
    • Slingshot
    • Для мотоциклов
    • Для квадроциклов
    • Для снегоходов
    • Для мотовездеходов
    • Для гидроциклов
    • Для лодочных моторов
    • Для катеров
    • Для судовых двигателей
    • Для генераторов
    • Для квадроциклов
    • Yamaha
    • Honda
    • Suzuki
    • Kawasaki
    • Arctic Cat
    • Can-Am
    • Polaris
    • KTM
    • Для снегоходов
    • Yamaha
    • Arctic Cat
    • Lynx
    • Ski-Doo
    • Polaris
    • Для генераторов
    • Для мотовездеходов
    • Yamaha
    • Honda
    • Suzuki
    • Kawasaki
    • Arctic Cat
    • Can-Am
    • Polaris
    • Polaris RZR
    • Для гидроциклов
    • Yamaha
    • Honda Marine
    • Kawasaki
    • Arctic Cat
    • Polaris
    • Sea-Doo
    • Для лодочных моторов
    • Для катеров
    • Для суд. двигателей
    • Для генераторов
    • Для лодочных моторов
    • Yamaha
    • Honda Marine
    • Suzuki Marine
    • Evinrude
    • Johnson
    • Nissan
    • Tohatsu
    • Mercury
    • Force
    • Mariner
    • Для катеров
    • Yamaha
    • Sea-Doo
    • Для суд. двигателей
    • Для спецтехники
  • Неоригинал, расходники
  • Заказ по каталогам
    • КАТАЛОГ PARTS UNLIMITED
  • Моторезина
  1. Главная
  2. Запчасти для мотоциклов
  3. Yamaha
  4. CW50
  5. CW50

Запчасти для мотоциклов Yamaha CW50 BOOSTER

Год: 1990  •  Код модели: 3VL1  •  Объем двигателя: 50

Запчасти для мотоциклов Yamaha CW50 BOOSTER
Вид:

  • CW50 Цилиндры
    Цилиндры
  • CW50 Коленчатый вал и поршни
    Коленчатый вал и поршни
  • CW50 Bouclier ventilation
    Bouclier ventilation
  • CW50 Масляный насос
    Масляный насос
  • CW50 Впускная система
    Впускная система
  • CW50 Карбюратор
    Карбюратор
  • CW50 Выхлопная система
    Выхлопная система
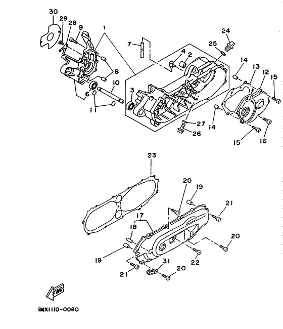
  • CW50 Картер двигателя
    Картер двигателя
  • CW50 Стартер
    Стартер
  • CW50 Сцепление
    Сцепление
  • CW50 Трансмиссия
    Трансмиссия
  • CW50 Рама
    Рама
  • CW50 Pare boue
    Pare boue
  • CW50 Боковые обтекатели
    Боковые обтекатели
  • CW50 Rpservoir a huile
    Rpservoir a huile
  • CW50 Задняя подвеска
    Задняя подвеска
  • CW50 Передняя вилка
    Передняя вилка
  • CW50 Rpservoir a carburant
    Rpservoir a carburant
  • CW50 Selle. porte -bagages
    Selle. porte -bagages
  • CW50 Переднее колесо
    Переднее колесо
  • CW50 Переднее колесо
    Переднее колесо
  • CW50 Steering handle. cable
    Steering handle. cable
  • CW50 Stand. footrest 2
    Stand. footrest 2
  • CW50 Ветровое стекло
    Ветровое стекло
  • CW50 Capot supprieur
    Capot supprieur
  • CW50 Генератор
    Генератор
  • CW50 Поворотники
    Поворотники
  • CW50 Приборы
    Приборы
  • CW50 Фара
    Фара
  • CW50 Фонарь
    Фонарь
  • CW50 Handle switch. lever
    Handle switch. lever
  • CW50 Электрика 1
    Электрика 1
  • CW50 Электрика 2
    Электрика 2



  Информация
  • Новости
  • О Компании
  • Оплата и Доставка
  • Помощь
  • Обратная связь
  • Контакты
  OEM запчасти
  • Запчасти для мотоциклов
  • Запчасти для квадроциклов
  • Запчасти для снегоходов
  • Запчасти для мотовездеходов
  • Запчасти для гидроциклов
  • Запчасти для лодочных моторов
  Наши контакты
  • ИП Зуев Артем Павлович
  • г. Москва 2-я Хуторская улица, д.29, офис 214
  • Email: info@partsfor.ru

Тел: ‎8(495) 532-03-60
8(909) 958-46-33; 8(925) 200-16-98

* все разговоры записываются
С 10.00 до 19.00 ПН - ПТ

© 2026 Интернет магазин запчастей для мототехники ПартсФор.

  • PaymentGateway
  • PaymentGateway
Договор-оферта
Образец договора для юр.лиц
Пользовательское соглашение
Политика конфиденциальности

Товар добавлен в корзину

Выбранный товар добавлен в Вашу корзину.
Далее Вы можете перейти в корзину для оформления заказа или закрыть это окно и продолжить покупки.

Перейти в корзину

Выбор модели техники

Выбрать