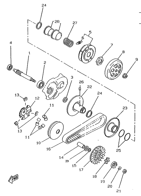
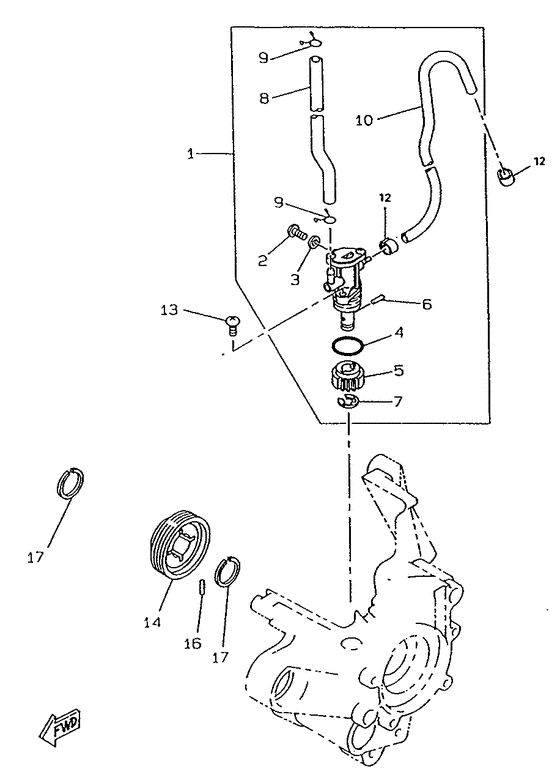
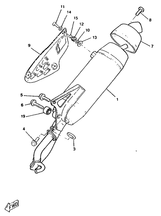
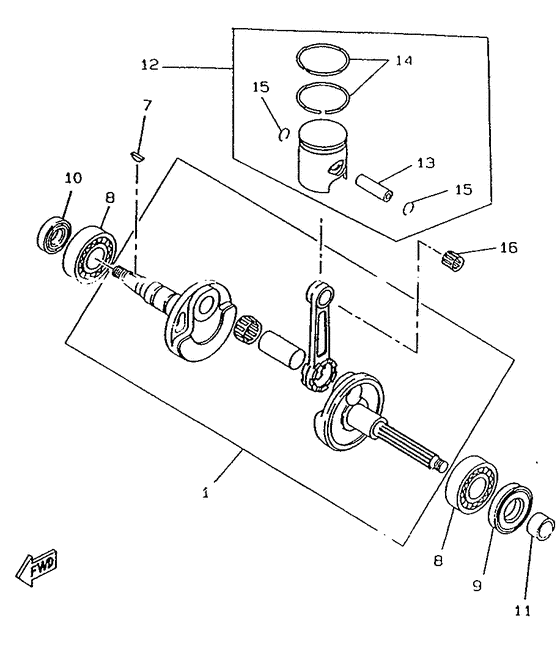
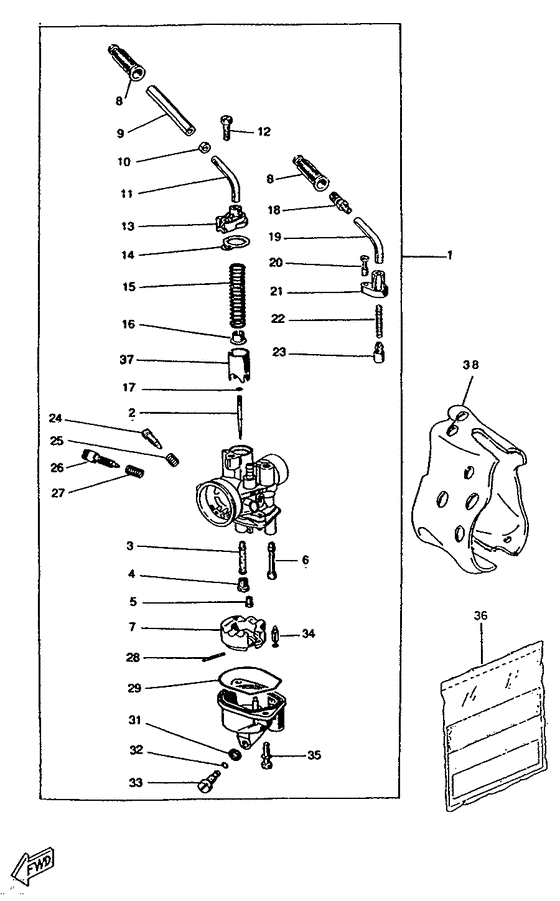
Запчасти для мотоциклов Yamaha CW50RSX BW'S BUMP

Год: 1996  •  Код модели: 4YC1  •  Объем двигателя: 50

Запчасти для мотоциклов Yamaha CW50RSX BW'S BUMP
Вид: