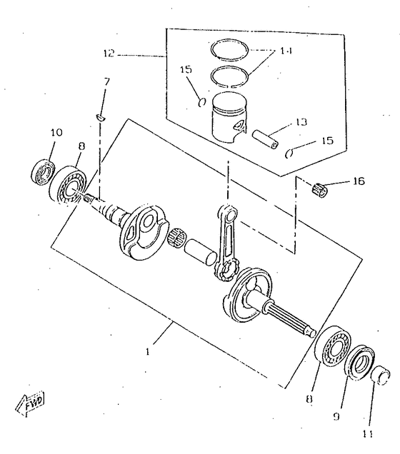
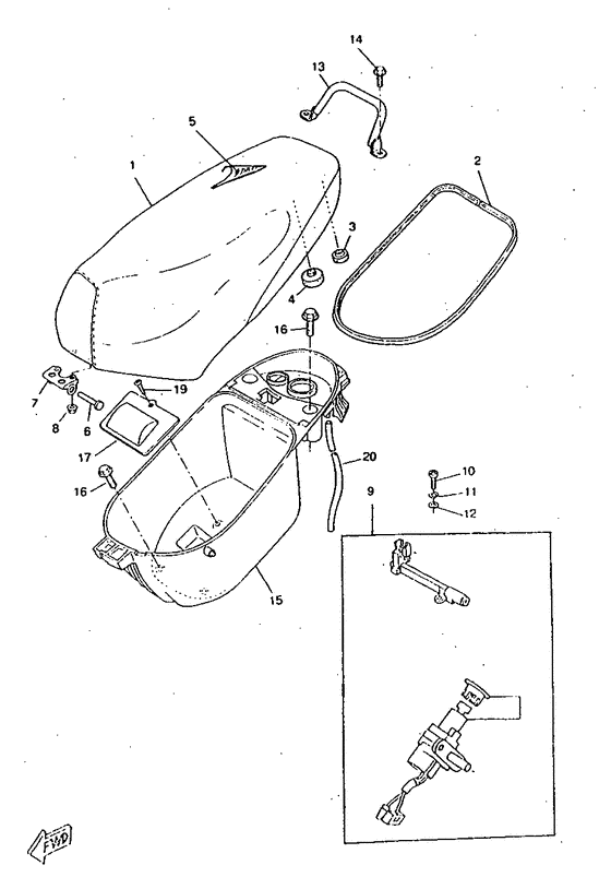
Запчасти для мотоциклов Yamaha CW50RSX BW'S BUMP

Год: 1997  •  Код модели: 5AY1  •  Объем двигателя: 50

Запчасти для мотоциклов Yamaha CW50RSX BW'S BUMP
Вид: