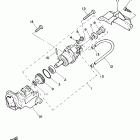
Yamaha PW 50 2002

Неоригинальные запчасти Parts Unlimited