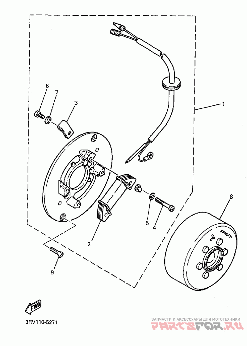
Генератор

Yamaha (Америка) PW 80

Yamaha (Америка)
#oem кодцена
1
21W-85510-21-00
Статор
2
21W-85512-21-00
Деталь Coil, Source
3
104-81328-20-00
Зажим
4
6
8
21W-85550-21-00
Ротор
9