• О Компании
  • Оплата и Доставка
  • Помощь
  • Обратная связь
  • Контакты
  • Telegram
  • ВКонтакте
  • Telegram
  • ВКонтакте
  • Регистрация
  • Авторизация
Интернет магазин мотозапчастей PartsFor.ru
Москва и регионы России
  • Личный кабинет
    • Заказы
    • Оплаты
    • Отгрузки
    • Сообщения
    • Профиль
    • Выход
  • Оригинальные запчасти
    • Для мотоциклов
    • Yamaha
    • Honda
    • Suzuki
    • Kawasaki
    • Harley Davidson
    • Ducati
    • Can-Am
    • Aprilia
    • BMW
    • Triumph
    • Husaberg
    • Husqvarna
    • KTM
    • Indian
    • Victory
    • Slingshot
    • Для мотоциклов
    • Для квадроциклов
    • Для снегоходов
    • Для мотовездеходов
    • Для гидроциклов
    • Для лодочных моторов
    • Для катеров
    • Для судовых двигателей
    • Для генераторов
    • Для квадроциклов
    • Yamaha
    • Honda
    • Suzuki
    • Kawasaki
    • Arctic Cat
    • Can-Am
    • Polaris
    • KTM
    • Для снегоходов
    • Yamaha
    • Arctic Cat
    • Lynx
    • Ski-Doo
    • Polaris
    • Для генераторов
    • Для мотовездеходов
    • Yamaha
    • Honda
    • Suzuki
    • Kawasaki
    • Arctic Cat
    • Can-Am
    • Polaris
    • Polaris RZR
    • Для гидроциклов
    • Yamaha
    • Honda Marine
    • Kawasaki
    • Arctic Cat
    • Polaris
    • Sea-Doo
    • Для лодочных моторов
    • Для катеров
    • Для суд. двигателей
    • Для генераторов
    • Для лодочных моторов
    • Yamaha
    • Honda Marine
    • Suzuki Marine
    • Evinrude
    • Johnson
    • Nissan
    • Tohatsu
    • Mercury
    • Force
    • Mariner
    • Для катеров
    • Yamaha
    • Sea-Doo
    • Для суд. двигателей
    • Для спецтехники
  • Неоригинал, расходники
  • Заказ по каталогам
    • КАТАЛОГ PARTS UNLIMITED
  • Моторезина
  1. Главная
  2. Запчасти для мотоциклов
  3. Yamaha (Америка)
  4. 1996
  5. Virago

Virago (1996)

Оригинальные запчасти для мотоциклов Yamaha (Америка)

Выбор узла

Virago (1996)
  • Virago Топливный бак (только шт.Калифорния)
    Топливный бак (только шт.Калифорния)
  • Virago Генератор
    Генератор
  • Virago Рулевые переключатели
    Рулевые переключатели
  • Virago Цепь механизма газораспределения
    Цепь механизма газораспределени я
  • Virago Фара
    Фара
  • Virago Карбюратор
    Карбюратор
  • Virago Впускная система
    Впускная система
  • Virago Сцепление
    Сцепление
  • Virago Спидометр
    Спидометр
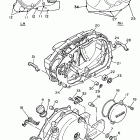
  • Virago Картер
    Картер
  • Virago Промежуточный ведущий вал
    Промежуточный ведущий вал
  • Virago Крышка картера двигателя
    Крышка картера двигателя
  • Virago Маслоочиститель
    Маслоочиститель
  • Virago Коленчатый вал и Поршень
    Коленчатый вал и Поршень
  • Virago Масляный насос
    Масляный насос
  • Virago Цилиндр
    Цилиндр
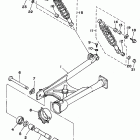
  • Virago Задний рычаг подвески
    Задний рычаг подвески
  • Virago Головка цилиндра
    Головка цилиндра
  • Virago Заднее колесо
    Заднее колесо
  • Virago Ведущий вал
    Ведущий вал
  • Virago Сидение
    Сидение
  • Virago Электрика 1
    Электрика 1
  • Virago Вилки переключения
    Вилки переключения
  • Virago Электрика 2
    Электрика 2
  • Virago Вал переключения
    Вал переключения
  • Virago Выхлопная система
    Выхлопная система
  • Virago Боковая панель
    Боковая панель
  • Virago Крыло
    Крыло
  • Virago Подножки
    Подножки
  • Virago Поворотники
    Поворотники
  • Virago Муфта стартера
    Муфта стартера
  • Virago Рама
    Рама
  • Virago Стартер электрический
    Стартер электрический
  • Virago Передний тормозной суппорт
    Передний тормозной суппорт
  • Virago Рулевое управление
    Рулевое управление
  • Virago Передняя вилка
    Передняя вилка
  • Virago Троса
    Троса
  • Virago Главный тормозной цилиндр,передний
    Главный тормозной цилиндр,передний
  • Virago Фонарь задний
    Фонарь задний
  • Virago Переднее колесо
    Переднее колесо
  • Virago Трансмиссия
    Трансмиссия
  • Virago Топливный бак
    Топливный бак
  • Virago Клапана
    Клапана


  Информация
  • Новости
  • О Компании
  • Оплата и Доставка
  • Помощь
  • Обратная связь
  • Контакты
  OEM запчасти
  • Запчасти для мотоциклов
  • Запчасти для квадроциклов
  • Запчасти для снегоходов
  • Запчасти для мотовездеходов
  • Запчасти для гидроциклов
  • Запчасти для лодочных моторов
  Наши контакты
  • ИП Зуев Артем Павлович
  • г. Москва 2-я Хуторская улица, д.29, офис 214
  • Email: info@partsfor.ru

Тел: ‎8(495) 532-03-60
8(909) 958-46-33; 8(925) 200-16-98

* все разговоры записываются
С 10.00 до 19.00 ПН - ПТ

© 2026 Интернет магазин запчастей для мототехники ПартсФор.

  • PaymentGateway
  • PaymentGateway
Договор-оферта
Образец договора для юр.лиц
Пользовательское соглашение
Политика конфиденциальности

Товар добавлен в корзину

Выбранный товар добавлен в Вашу корзину.
Далее Вы можете перейти в корзину для оформления заказа или закрыть это окно и продолжить покупки.

Перейти в корзину

Выбор модели техники

Выбрать