FZR1000 (1994)

Оригинальные запчасти для мотоциклов Yamaha (Америка)

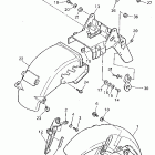
Выбор узла

FZR1000 (1994)