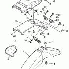
Yamaha XT 350 1993

Неоригинальные запчасти Parts Unlimited