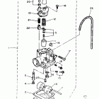
Yamaha PW 80 1991

Неоригинальные запчасти Parts Unlimited