• О Компании
  • Оплата и Доставка
  • Помощь
  • Обратная связь
  • Контакты
  • Telegram
  • ВКонтакте
  • Telegram
  • ВКонтакте
  • Регистрация
  • Авторизация
Интернет магазин мотозапчастей PartsFor.ru
Москва и регионы России
  • Личный кабинет
    • Заказы
    • Оплаты
    • Отгрузки
    • Сообщения
    • Профиль
    • Выход
  • Оригинальные запчасти
    • Для мотоциклов
    • Yamaha
    • Honda
    • Suzuki
    • Kawasaki
    • Harley Davidson
    • Ducati
    • Can-Am
    • Aprilia
    • BMW
    • Triumph
    • Husaberg
    • Husqvarna
    • KTM
    • Indian
    • Victory
    • Slingshot
    • Для мотоциклов
    • Для квадроциклов
    • Для снегоходов
    • Для мотовездеходов
    • Для гидроциклов
    • Для лодочных моторов
    • Для катеров
    • Для судовых двигателей
    • Для генераторов
    • Для квадроциклов
    • Yamaha
    • Honda
    • Suzuki
    • Kawasaki
    • Arctic Cat
    • Can-Am
    • Polaris
    • KTM
    • Для снегоходов
    • Yamaha
    • Arctic Cat
    • Lynx
    • Ski-Doo
    • Polaris
    • Для генераторов
    • Для мотовездеходов
    • Yamaha
    • Honda
    • Suzuki
    • Kawasaki
    • Arctic Cat
    • Can-Am
    • Polaris
    • Polaris RZR
    • Для гидроциклов
    • Yamaha
    • Honda Marine
    • Kawasaki
    • Arctic Cat
    • Polaris
    • Sea-Doo
    • Для лодочных моторов
    • Для катеров
    • Для суд. двигателей
    • Для генераторов
    • Для лодочных моторов
    • Yamaha
    • Honda Marine
    • Suzuki Marine
    • Evinrude
    • Johnson
    • Nissan
    • Tohatsu
    • Mercury
    • Force
    • Mariner
    • Для катеров
    • Yamaha
    • Sea-Doo
    • Для суд. двигателей
    • Для спецтехники
  • Неоригинал, расходники
  • Заказ по каталогам
    • КАТАЛОГ PARTS UNLIMITED
  • Моторезина
  1. Главная
  2. Запчасти для мотоциклов
  3. Yamaha (Америка)
  4. 1987
  5. BW 200

BW 200 (1987)

Оригинальные запчасти для мотоциклов Yamaha (Америка)

Выбор узла

BW 200 (1987)
совместимые запчасти для данной модели внизу страницы
  • BW 200 Воздушный фильтр
    Воздушный фильтр
  • BW 200 Рулевые переключатели
    Рулевые переключатели
  • BW 200 Распределительный вал
    Распределительный вал
  • BW 200 Троса
    Троса
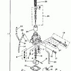
  • BW 200 Карбюратор
    Карбюратор
  • BW 200 Фара
    Фара
  • BW 200 Сцепление
    Сцепление
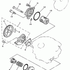
  • BW 200 Масляный насос
    Масляный насос
  • BW 200 Картер
    Картер
  • BW 200 Амортизаторы задние
    Амортизаторы задние
  • BW 200 Крышка картера двигателя
    Крышка картера двигателя
  • BW 200 Заднее колесо
    Заднее колесо
  • BW 200 Коленчатый вал и Поршень
    Коленчатый вал и Поршень
  • BW 200 Сидение
    Сидение
  • BW 200 Цилиндр
    Цилиндр
  • BW 200 Копирный вал
    Копирный вал
  • BW 200 Головка цилиндра
    Головка цилиндра
  • BW 200 Вал переключения
    Вал переключения
  • BW 200 Электрика 1
    Электрика 1
  • BW 200 Боковая панель
    Боковая панель
  • BW 200 Выхлопная система
    Выхлопная система
  • BW 200 Подножки
    Подножки
  • BW 200 Крыло
    Крыло
  • BW 200 Стартер
    Стартер
  • BW 200 Рама
    Рама
  • BW 200 Стартер
    Стартер
  • BW 200 Передняя вилка
    Передняя вилка
  • BW 200 Рулевое управление
    Рулевое управление
  • BW 200 Переднее колесо
    Переднее колесо
  • BW 200 Бугель
    Бугель
  • BW 200 Топливный бак
    Топливный бак
  • BW 200 Фонарь задний
    Фонарь задний
  • BW 200 Генератор
    Генератор
  • BW 200 Трансмиссия
    Трансмиссия
  • BW 200 Клапана
    Клапана

Yamaha Big Wheel 200 1987

Неоригинальные запчасти Parts Unlimited

  • Рычаг
    Polished Left-Hand Lever for Suzuki/Yamaha
    Polished Left-Hand Lever for Suzuki/Yamaha
  • Рычаг
    Polished Right-Hand Lever for Yamaha
    Polished Right-Hand Lever for Yamaha
  • Кабель
    Pull Throttle Cable for Yamaha
    Pull Throttle Cable for Yamaha
  • Рычаг
    T6 Forged Clutch Lever
    T6 Forged Clutch Lever
  • Жердь
    Left Perch for Suzuki RM and Yamaha YZ/WR
    Left Perch for Suzuki RM and Yamaha YZ/WR
  • Двигатель
    Starter Motor - Yamaha
    Starter Motor - Yamaha
  • Фрикционная пластина
    Clutch Friction Plate
    Clutch Friction Plate
  • Приводная пластина
    Clutch Drive Plate - Steel
    Clutch Drive Plate - Steel
  • Пружинный набор
    Clutch Spring Set
    Clutch Spring Set
  • Подшипник колеса
    Wheel Bearing Kit - Front
    Wheel Bearing Kit - Front
  • Подшипник колеса
    Wheel Bearing Kit - Rear
    Wheel Bearing Kit - Rear
  • Тормозная колодка
    Brake Shoes - Adly Moto/Yamaha
    Brake Shoes - Adly Moto/Yamaha
  • Тормозная колодка
    Brake Shoes - Yamaha
    Brake Shoes - Yamaha
  • Тормозная колодка
    Brake Shoes - Yamaha
    Brake Shoes - Yamaha
  • Кабель
    Black Vinyl Clutch Cable for Yamaha
    Black Vinyl Clutch Cable for Yamaha
  • Тормозная колодка
    Brake Shoes - Yamaha
    Brake Shoes - Yamaha
  • Кабель
    Moose Clutch Cable for Yamaha
    Moose Clutch Cable for Yamaha
  • Тормозная колодка
    Brake Shoes - Yamaha
    Brake Shoes - Yamaha
  • Несущий
    Steering Stem Bearing Kit
    Steering Stem Bearing Kit
  • Комплект уплотнений вилки
    Fork Seal Kit - 33 mm
    Fork Seal Kit - 33 mm
  • Уплотнение вилки
    Fork Seals - 33 mm ID x 45 mm OD x 11 mm T
    Fork Seals - 33 mm ID x 45 mm OD x 11 mm T
  • Масляный фильтр
    Oil Filter
    Oil Filter
  • Цепь
    Cam Chain
    Cam Chain
  • Масляный фильтр
    Oil Filter
    Oil Filter
  • Масляный фильтр
    Oil Filter
    Oil Filter
  • Масляный фильтр
    Oil Filter
    Oil Filter


  Информация
  • Новости
  • О Компании
  • Оплата и Доставка
  • Помощь
  • Обратная связь
  • Контакты
  OEM запчасти
  • Запчасти для мотоциклов
  • Запчасти для квадроциклов
  • Запчасти для снегоходов
  • Запчасти для мотовездеходов
  • Запчасти для гидроциклов
  • Запчасти для лодочных моторов
  Наши контакты
  • ИП Зуев Артем Павлович
  • г. Москва 2-я Хуторская улица, д.29, офис 214
  • Email: info@partsfor.ru

Тел: ‎8(495) 532-03-60
8(909) 958-46-33; 8(925) 200-16-98

* все разговоры записываются
С 10.00 до 19.00 ПН - ПТ

© 2026 Интернет магазин запчастей для мототехники ПартсФор.

  • PaymentGateway
  • PaymentGateway
Договор-оферта
Образец договора для юр.лиц
Пользовательское соглашение
Политика конфиденциальности

Товар добавлен в корзину

Выбранный товар добавлен в Вашу корзину.
Далее Вы можете перейти в корзину для оформления заказа или закрыть это окно и продолжить покупки.

Перейти в корзину

Выбор модели техники

Выбрать