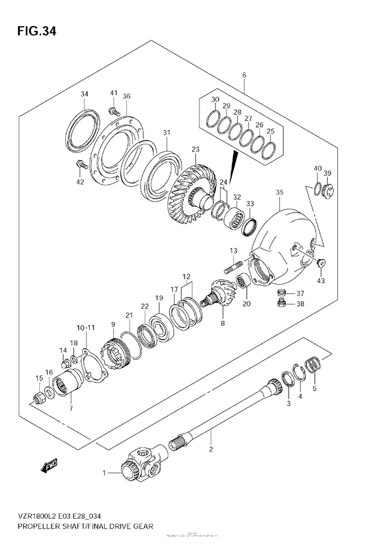
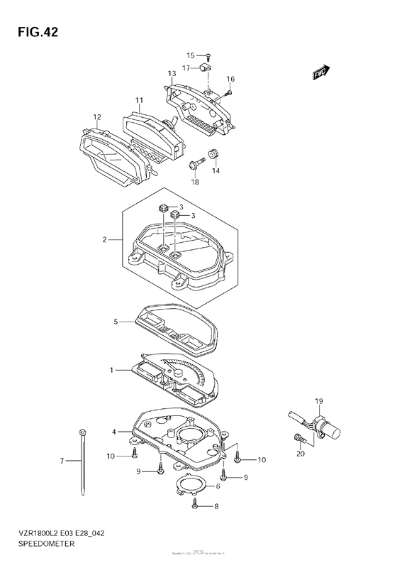
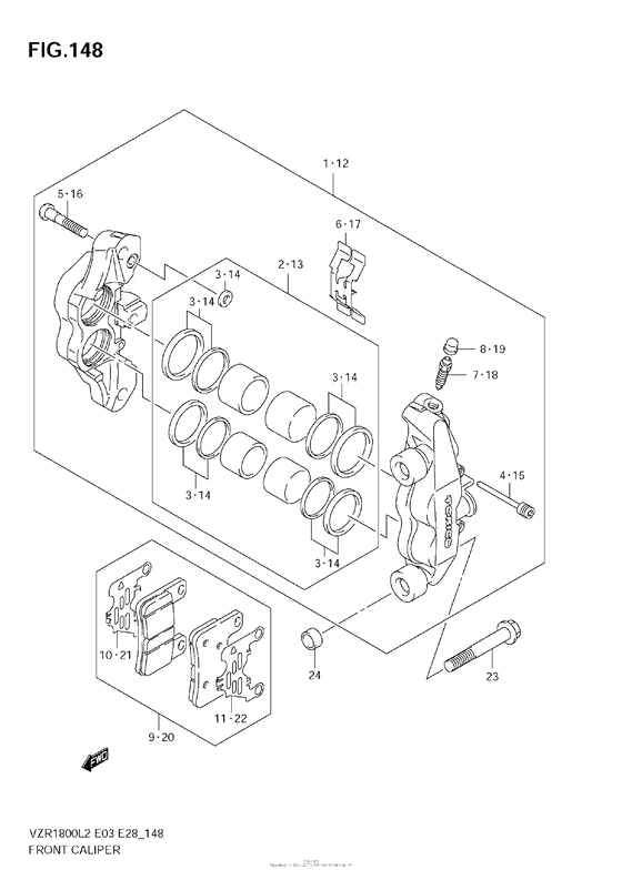
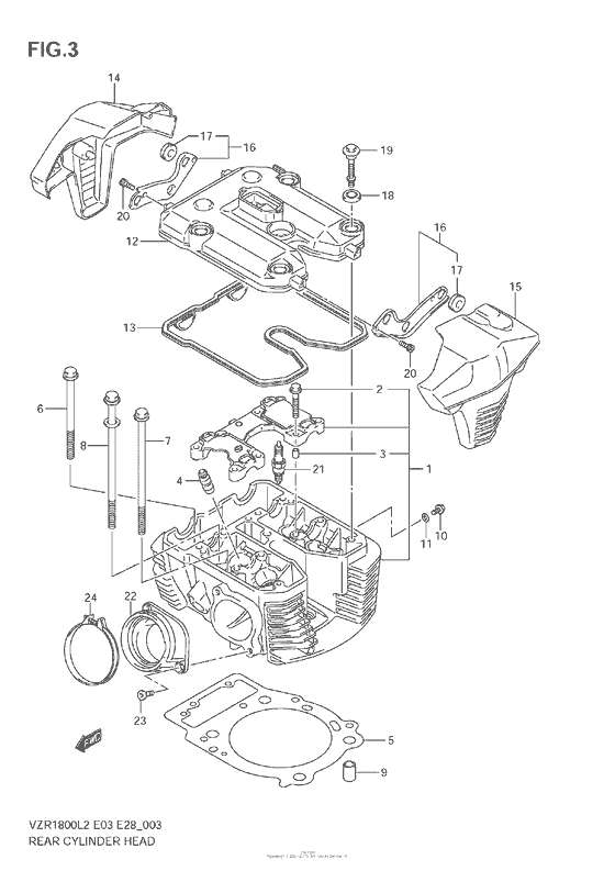
Запчасти для мотоциклов Suzuki VZR1800 Boulevard M109R

Год: 2012  •  Код модели: VZR1800L2  •  Объем двигателя: 1800

Запчасти для мотоциклов Suzuki VZR1800 Boulevard M109R
Вид: