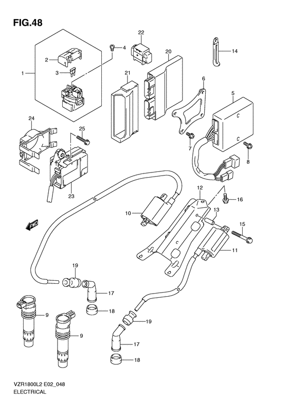
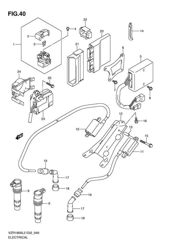
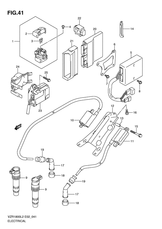
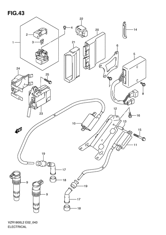
Запчасти для мотоциклов Suzuki VZR1800 Intruder M1800R/ Boulevard M109R

Год: 2012  •  Код модели: VZR1800UFL2(E02) L2  •  Объем двигателя: 1800

Запчасти для мотоциклов Suzuki VZR1800 Intruder M1800R/ Boulevard M109R
Вид: