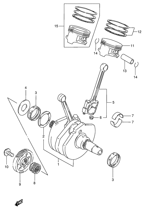
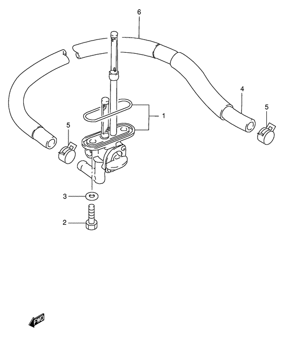
Запчасти для мотоциклов Suzuki VS600 Intruder 600

Год: 1997  •  Код модели: VS600GLV(E2) V  •  Объем двигателя: 600

Запчасти для мотоциклов Suzuki VS600 Intruder 600
Вид: