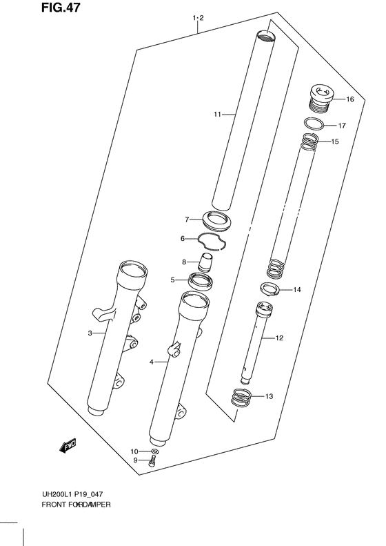
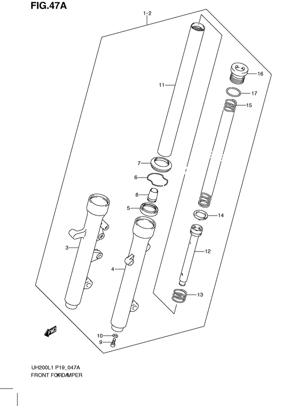
Запчасти для мотоциклов Suzuki UH200 Burgman

Год: 2011  •  Код модели: UH200L1(P19) L1  •  Объем двигателя: 200

Запчасти для мотоциклов Suzuki UH200 Burgman
Вид: