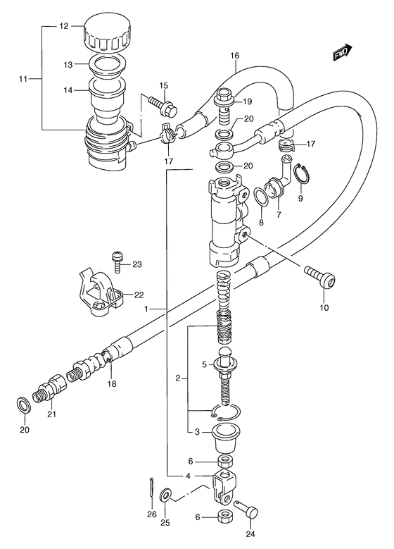
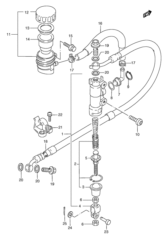
Запчасти для мотоциклов Suzuki TS125

Год: 1994  •  Код модели: TS125RR(E2) R  •  Объем двигателя: 125

Запчасти для мотоциклов Suzuki TS125
Вид: