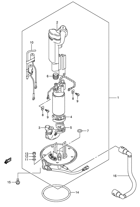
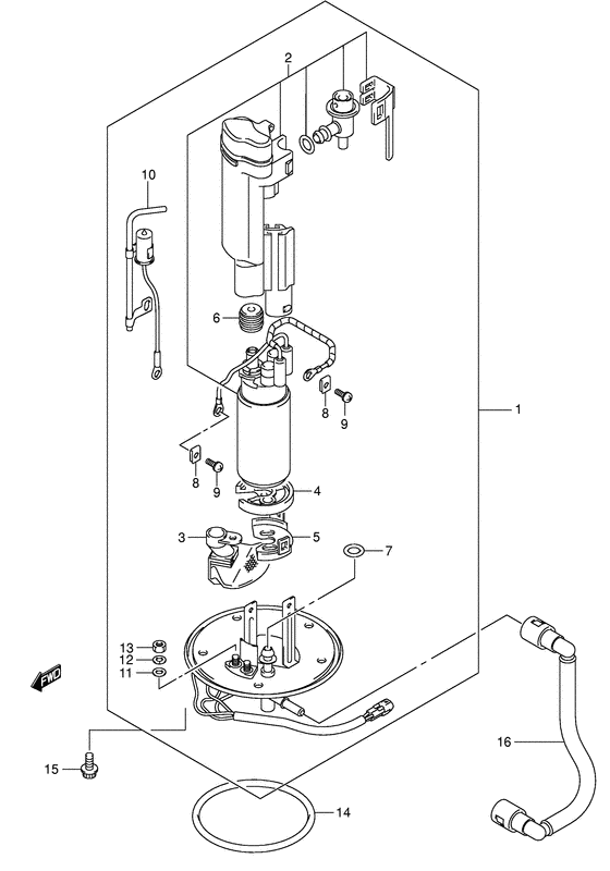
Запчасти для мотоциклов Suzuki SV1000

Год: 2003  •  Код модели: SV1000S1K3(E2) K3  •  Объем двигателя: 1000

Запчасти для мотоциклов Suzuki SV1000
Вид: