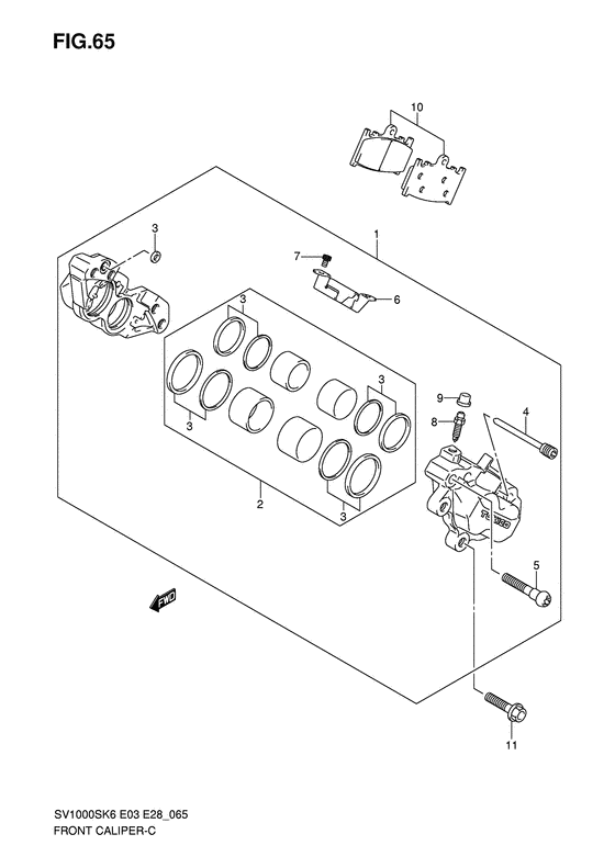
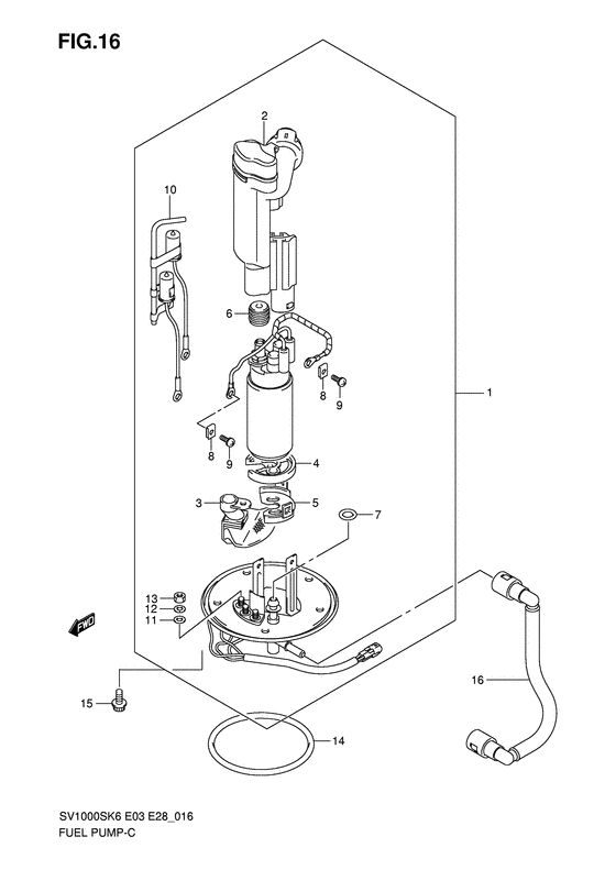
Запчасти для мотоциклов Suzuki SV1000

Год: 2006  •  Код модели: SV1000K6(E3/E28) K6  •  Объем двигателя: 1000

Запчасти для мотоциклов Suzuki SV1000
Вид: