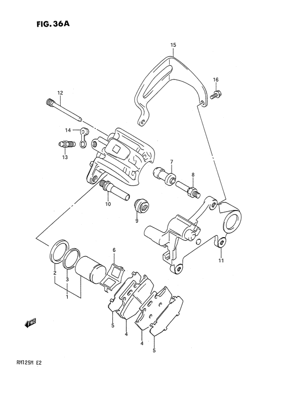
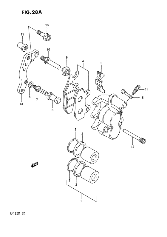
Запчасти для мотоциклов Suzuki RM125

Год: 1991  •  Код модели: RM125M(E2) M  •  Объем двигателя: 125

Запчасти для мотоциклов Suzuki RM125
Вид: