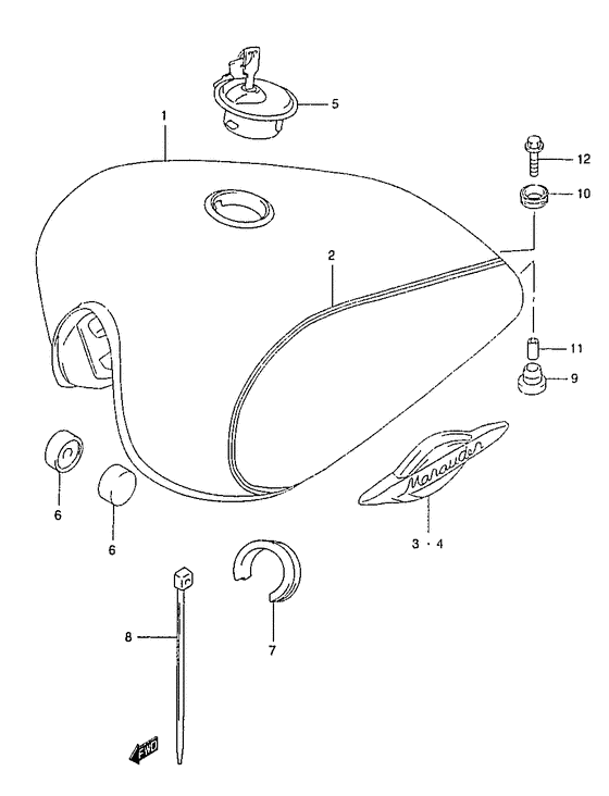
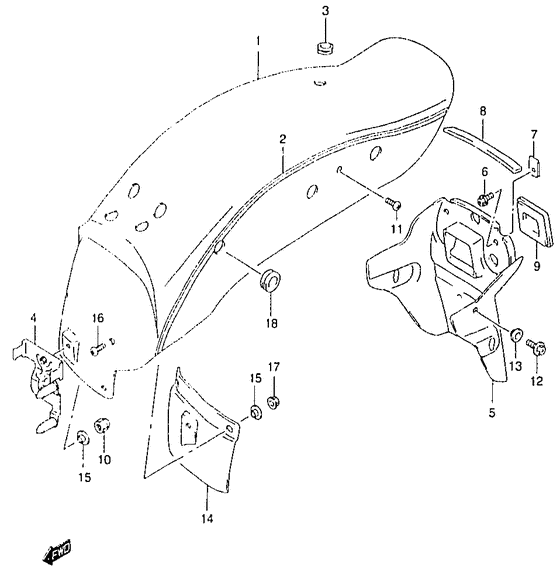
Запчасти для мотоциклов Suzuki GZ125 Marauder

Год: 1998  •  Код модели: GZ125UW(W/X/Y) W  •  Объем двигателя: 125

Запчасти для мотоциклов Suzuki GZ125 Marauder