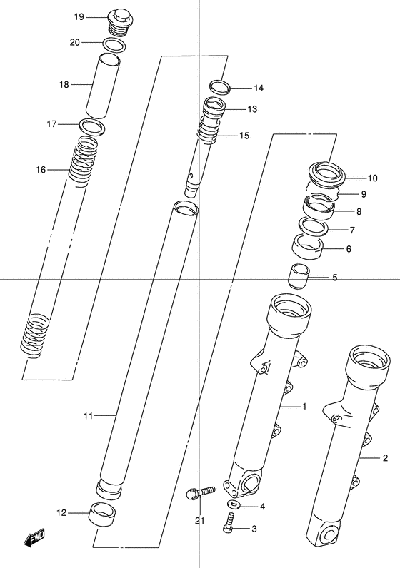
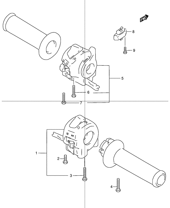
Запчасти для мотоциклов Suzuki GSX1200

Год: 1999  •  Код модели: GSX1200X(E4) X  •  Объем двигателя: 1200

Запчасти для мотоциклов Suzuki GSX1200
Вид: