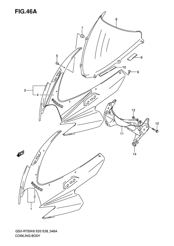
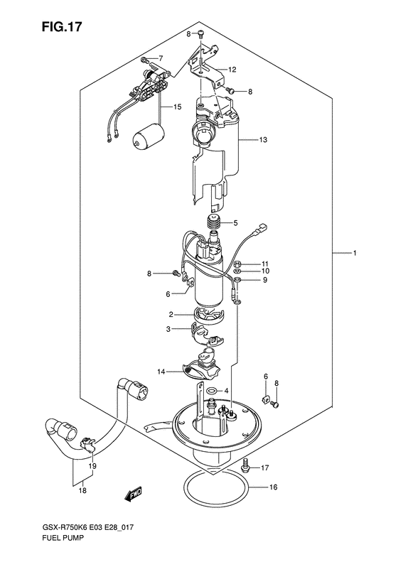
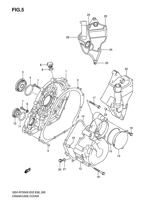
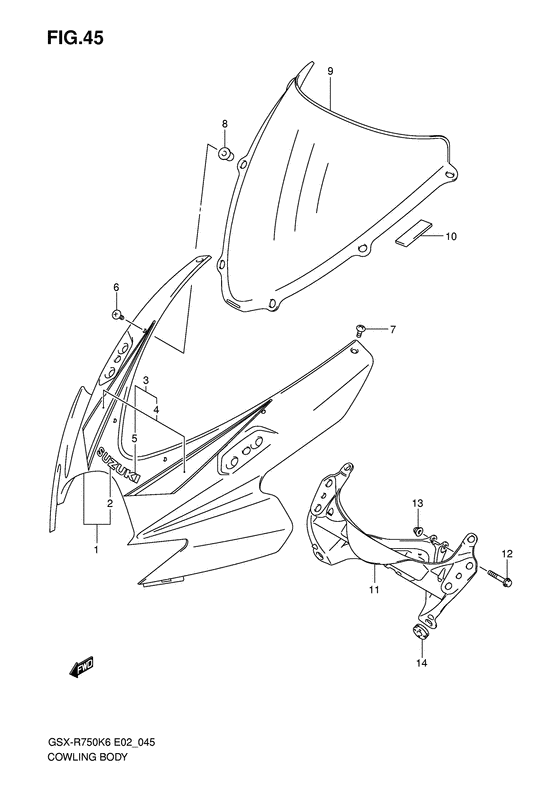
Запчасти для мотоциклов Suzuki GSX-R750

Год: 2007  •  Код модели: GSX-R750K7(E2) K7  •  Объем двигателя: 750

Запчасти для мотоциклов Suzuki GSX-R750
Вид: