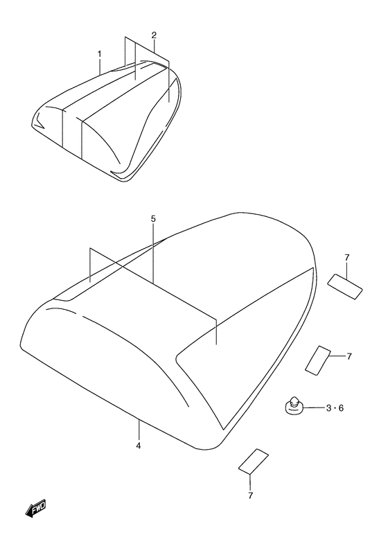
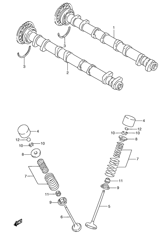
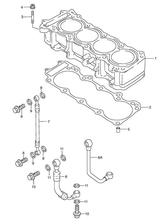
Запчасти для мотоциклов Suzuki GSX-R600

Год: 1997  •  Код модели: GSX-R600V(E2) V  •  Объем двигателя: 600

Запчасти для мотоциклов Suzuki GSX-R600
Вид: