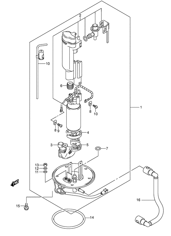
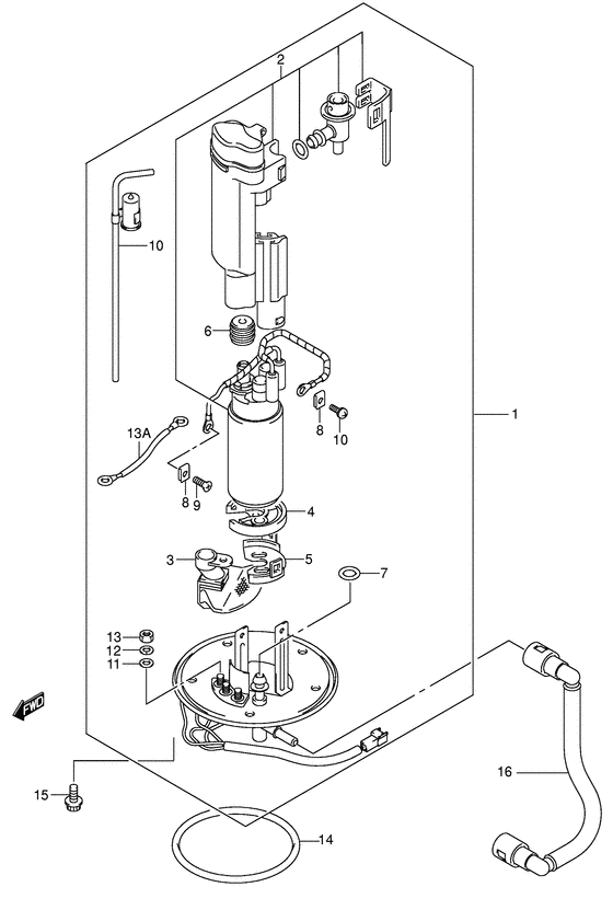
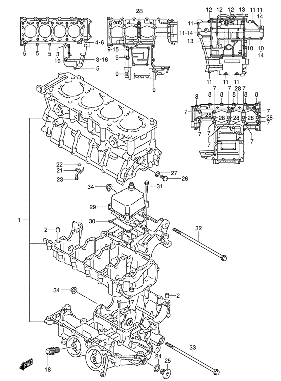
Запчасти для мотоциклов Suzuki GSX-R600U1

Год: 2002  •  Код модели: GSX-R600U1K2(E2) K2  •  Объем двигателя: 600

Запчасти для мотоциклов Suzuki GSX-R600U1
Вид: