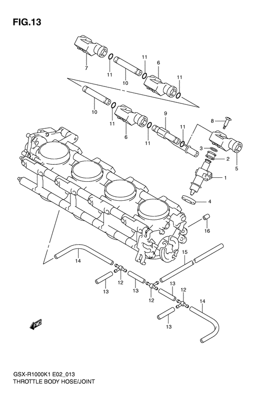
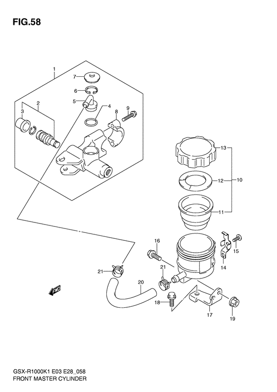
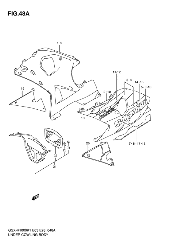
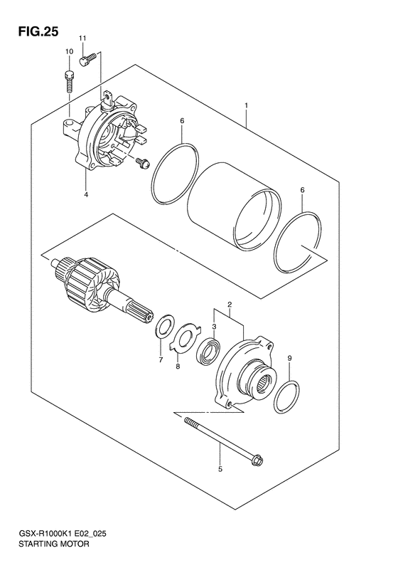
Запчасти для мотоциклов Suzuki GSX-R1000

Год: 2001  •  Код модели: GSX-R1000K1(E3/E28) K1  •  Объем двигателя: 1000

Запчасти для мотоциклов Suzuki GSX-R1000
Вид: