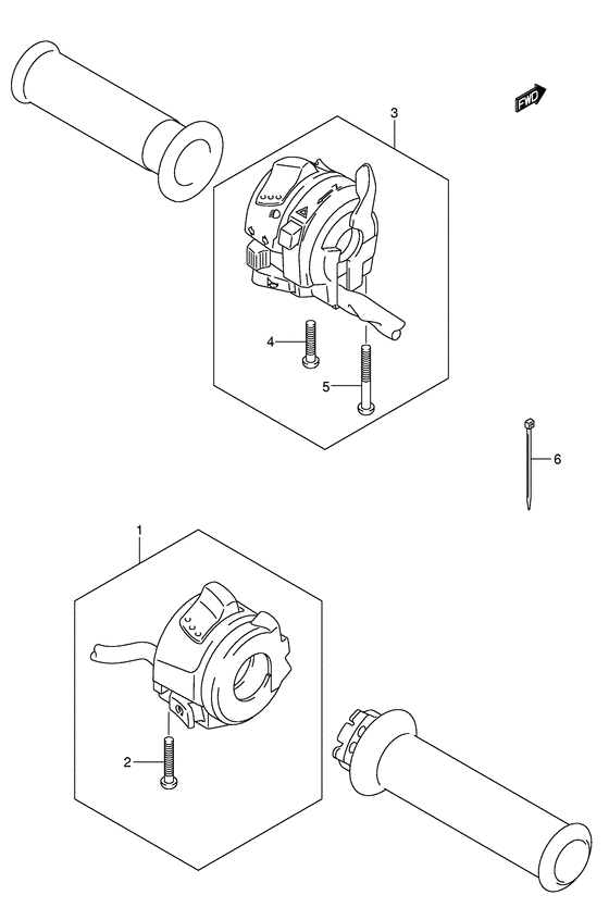
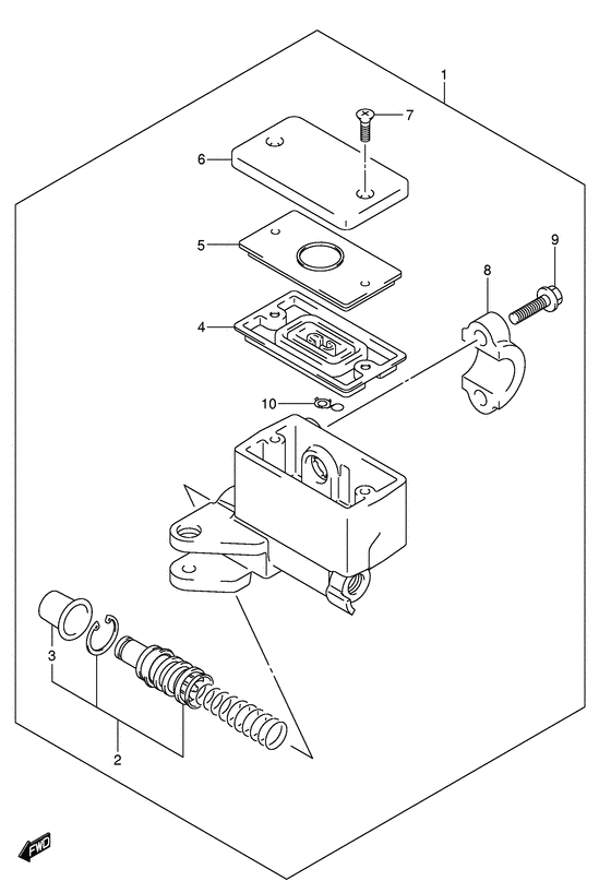
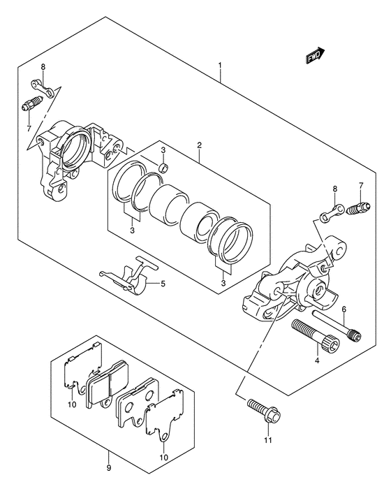
Запчасти для мотоциклов Suzuki GSF650 Bandit

Год: 2006  •  Код модели: GSF650UK6(E2) K6  •  Объем двигателя: 650

Запчасти для мотоциклов Suzuki GSF650 Bandit
Вид: