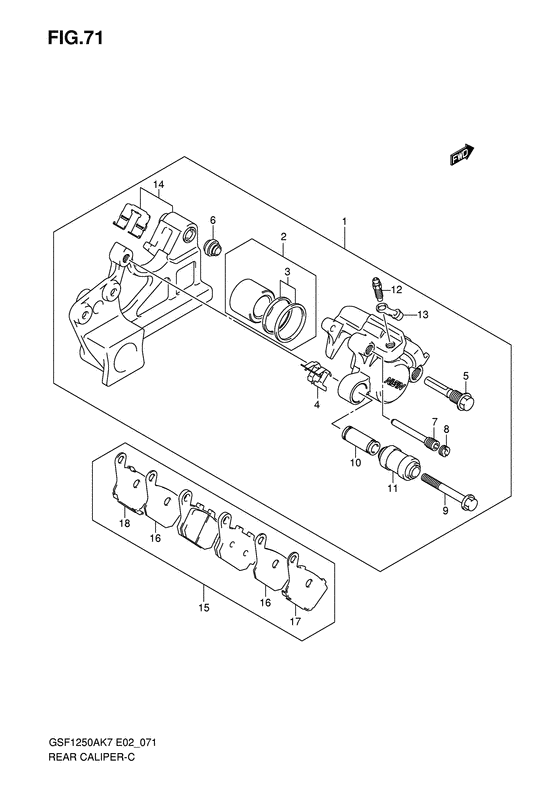
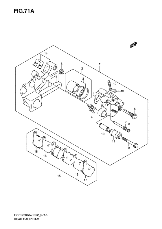
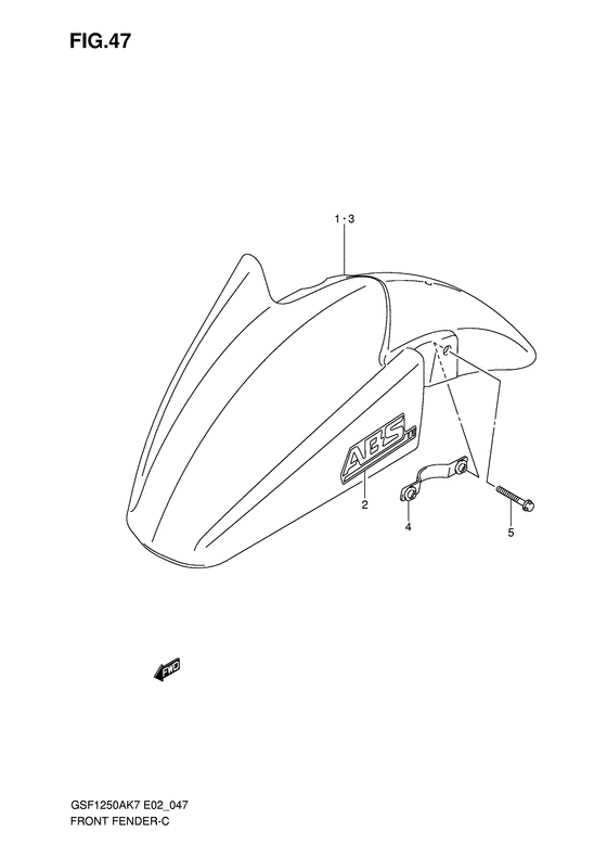
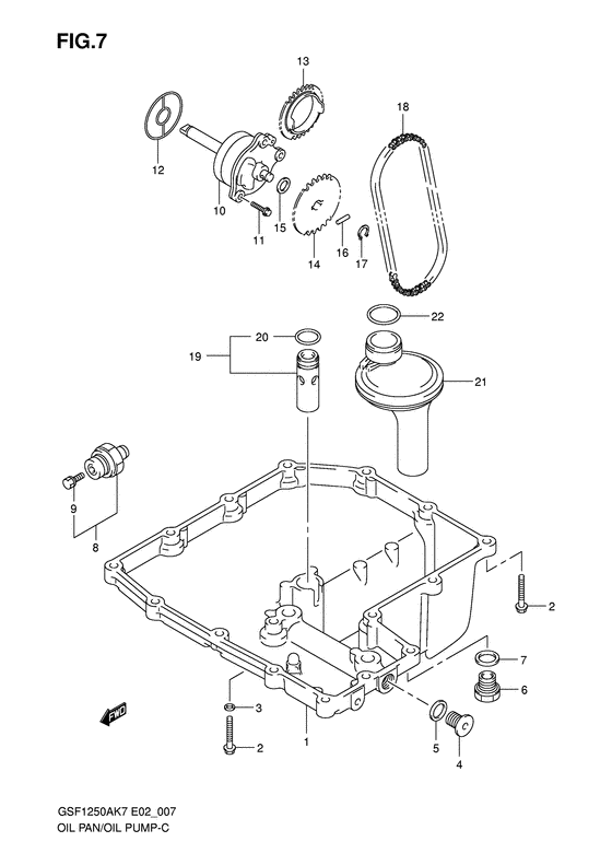
Запчасти для мотоциклов Suzuki GSF1250 Bandit

Год: 2009  •  Код модели: GSF1250K9(E2) K9  •  Объем двигателя: 1250

Запчасти для мотоциклов Suzuki GSF1250 Bandit
Вид: